当前位置: 首页 > news >正文

PostIn入门到实战(8) - 如何对接口进行全方位自动化测试,有效确保接口质量

PostIn是一款国产开源免费的接口管理工具,支持接口文档管理、接口测试、接口调度,工具支持一键安装零配置,页面设计简洁易用。本文将介绍如何编写接口用例并进行全面测试。

1、接口用例

PostIn支持如下几种测试用例。

接口单元用例:针对单个接口的输入输出进行验证,包括正常数据返回、异常数据处理、边界值校验等,确保接口基础逻辑的正确性‌。

接口场景用例:通过组合多个接口形成业务场景(如用户注册-登录-下单),验证系统端到端的业务流程逻辑‌。

接口性能用例:通过模拟高并发请求,测试接口的吞吐率、响应时间、资源消耗等指标,验证系统性能瓶颈‌。

1.1 添加接口单元用例

接口单元用例支持通过接口定义保存为用例、手动添加两种方式。

  • 通过定义保存为用例

在接口管理,点击调试tab,发送调试后,可将当前调试参数保存为用例。

保存为用例

输入测试用例名称,点击提交,即可成功保存用例。

测试用例保存完毕之后,在接口的用例tab可查看当前接口产生的接口单元用例。

接口用例列表

  • 手动添加

除了在接口管理利用接口调试内容生成接口单元,还可以在接口测试页面手动添加接口,在接口测试页面,点击左侧上方的“+”→添加用例

添加用例

输入接口用例的基本信息进行添加。

直接添加

属性

是否必填

描述

名称

必填

测试用例名称,简单描述该用例目的,方便查询、管理。

类型

必填

HTTP请求类型(GET、POST)。

地址

必填

接口请求地址。

模块

选填

测试用例所属模块,方便快速查询。

添加完成后,点击用例名称进入接口用例详细内容进行编辑。

编辑信息

1.2 添加接口场景用例

接口场景用例用于构建复杂的接口测试场景,模拟真实业务流程。测试用例采用先新增后编辑详细信息的模式,点击“+”→添加场景

成功新增接口场景用例之后,点击用例名称,编辑用例详细信息。点击基本信息右侧的更多按钮,可编辑用例详细基本信息。

接口场景用例

属性

描述

名称

测试用例名称,简单描述该测试用例目的,方便查询、管理。

用例类型

显示用例类型,不可编辑。

模块

测试用例所属模块,方便快速查询

状态

显示测试用例状态(未开始、进行中、结束),默认为未开始。

责任人

显示测试用例的负责人。

优先级

显示测试用例优先级(低、中、高),默认为低。

创建时间

显示用例创建时间,不可编辑。

更新时间

显示用例最后一次更新时间,更新用例同时会更新该时间,不可编辑。

描述

为用例提供简单描述,说明用例的目标或者关键内容,可以让团队成员快速了解用例内容。

在接口场景用例,需要在测试步骤设计接口场景,例如取到的变量是admin,则执行登录,否则执行其他接口。测试步骤添加if判断,在接口场景用例,点击添加步骤→if判断

if判断

接口场景用例测试步骤添加接口单元用例,在接口场景用例,点击添加步骤→关联用例

关联单元用例

1.3 添加接口性能用例

集成接口性能测试工具,支持对API进行高并发和负载测试。点击“+”→添加接口性能

添加性能用例后,点击性能用例名称,进入用例详情,性能用例可关联接口单元用例或者接口场景用例来进行压测。

关联用例

关联用例之后,进行接口性能策略配置。支持按照次数或者时间对接口进行压测。

属性

描述

并发量

接口在同一时间段内能够同时处理的请求数量。

执行次数

反复运行次数。

执行时间

在设置时间内重复执行接口并发。

1.4 执行接口用例

维护接口用例后,点击接口用例名称,进入接口详情编辑,在接口用例详情也可以对接口进行测试。用例测试使用的环境和接口管理一致。用例测试前需要选择用例测试环境,选择环境后点击测试按钮。

测试接口用例

测试完成后,显示测试结果。

测试结果

也可以点击“历史”按钮,查看用例调试历史。

调试历史

2、接口测试计划

可以对接口单元用例、接口场景用例添加测试计划,在测试计划中集中运行,也可以实现给Arbess进行调用,在CICD前自动执行测试计划。

2.1 添加接口测试计划

在接口测试页面点击测试计划→添加计划。添加测试计划。

添加测试计划

新增测试计划成功之后,在测试计划列表可以看到新增的测试计划,也可以通过测试计划名称进行查询。

添加自动化测试计划后,点击测试计划名称,进入测试计划详细,点击关联用例,可以将用例库中的接口用例(接口单元、接口场景),批量的添加到测试计划中。

关联用例

绑定用例后,可以使用用例名称(模糊查询)来进行筛选。点击关联的用例名称,可以查看测试用例的基本信息。

浏览用例信息

点击测试用例右侧“…”显示删除按钮,这里的删除只是删除用例和测试计划的关联关系,不是删除用例。

删除关联 

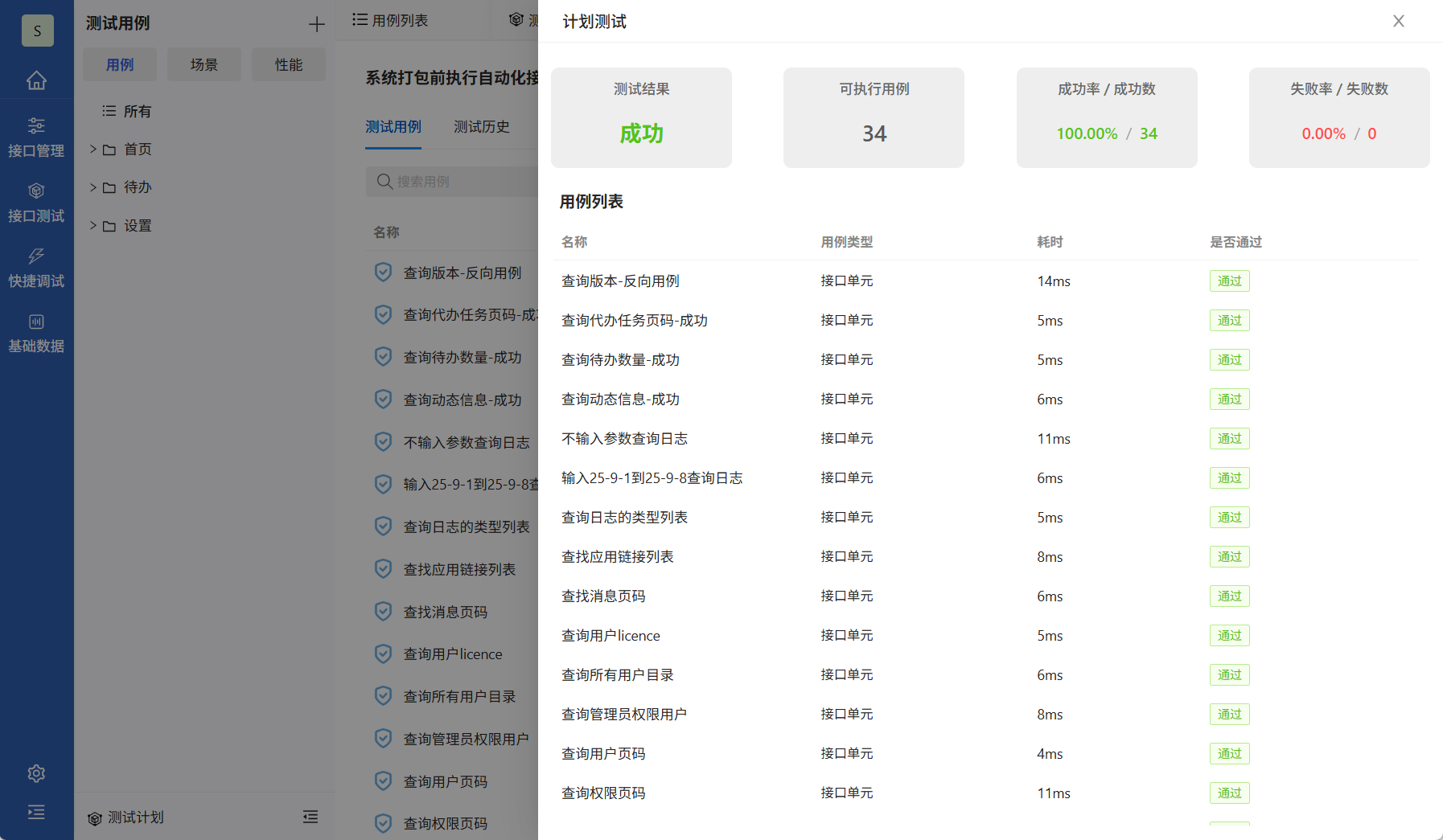
2.2 执行接口测试计划

在测试计划选择环境,点击测试,执行测试计划所有用例。弹窗显示测试结果。测试结果包含总体测试结果、执行用例数量、通过/失败数量、通过率/失败率、耗时、以及每个用例执行情况。

测试结果

在测试历史可以点击测试的序号来查看测试结果。

测试结果

测试结果包含总体测试结果、执行用例数量、通过/失败数量、通过率/失败率、耗时、以及每个用例执行情况。

测试计划执行完毕之后,用户可选择生成测试报告,系统会根据选择时间范围生成测试报告。

生成测试报告

点击测试报告名称,查看测试报告。

测试报告

测试计划还可以通过定时任务的方式执行,分为单次触发、循环触发。

单次触发,测试计划只会执行单次,选择执行日期和执行时间,测试计划按照设置日期执行。

单次触发

设置单次触发,任务状态为运行中,单次任务执行完毕之后,任务状态更改为已触发。

循环触发定时任务,需要设置循环触发时间间隔,如下图测试计划会每600分钟执行一次

循环触发

http://www.dtcms.com/a/457723.html

相关文章:

  • 平顶山网站网站建设有赞小程序定制开发
  • 冲床电脑控制器说明书
  • 企业网站优化推广怎么做宁波信息港
  • SortedList
  • 【LeetCode热题100(37/100)】二叉树的最大深度
  • 茂名公司制作网站如何制作网站和软件
  • 网站的种类诺邯郸网站建设
  • 河北建设广州分公司网站黄浦网站设计
  • uniapp 设置主备请求地址切换
  • 深入洞察:华为数字化转型之战略规划
  • 集团网站 wordpress长春朝阳学校网站建设
  • 如何创立网站 优帮云wordpress用户注册插件下载
  • 【2026计算机毕设选题参考】Springboot项目 赋能AI
  • Windows下安装Miniforge3的指南(避坑anaconda收费)
  • Qt C++ :QLayout 布局管理
  • 网站下载app连接怎么做长沙房产
  • 内容网站设计范例百度直播推广
  • 基于AIGC的图表狐深度评测:自然语言生成专业级统计图表的技术实现
  • 怎样做京东网站iis做网站上传速度慢
  • 软考系规:基础篇核心知识整理及助记词分享
  • 5分钟上手 MongoDB:从零安装到第一条数据插入(Windows / macOS / Linux 全平台图解)
  • AI人工智能智域天演电子沙盘数字沙盘系统
  • 各大网站怎么把世界杯做头条泰安网络公司行情
  • 东莞市非凡网站建设网站建设员招聘
  • FreeRTOS任务同步与通信--任务通知
  • 从数据到智能:数据驱动时代下的技术实践与AI融合方法论
  • 2100AI相亲(二)
  • C++游戏编程入门(第三版)——Pong 项目(章节 6 - 7)
  • 网站建设工作动态网页设计需要学什么知识
  • java-代码随想录第63天|拓扑排序、117. 软件构建、dijkstra(朴素版)、47. 参加科学大会