18-基于STM32的智能医嘱手环设计与实现
1 研究背景与意义
随着人口老龄化加剧、慢性病发病率攀升及智慧医疗政策推进,传统医疗模式在居家监测、医嘱执行、医患联动等环节的痛点日益凸显,老年人的医疗问题成为当今社会面临的重点问题。尤其是老年人常常需要服用一 些药品用来治疗疾病,听从医生嘱托按时吃药是老年人身体康复的关键。有时吃药和服用保健品的时间混乱,不能够有计划地进行,就达不到最大的效果。老年人医嘱依从性问题突出,因记忆力衰退、对病情认知不足,全球老年慢性病患者漏服药物率超 40%,而传统纸质医嘱、手机闹钟提醒缺乏针对性,无法结合老人实时生理数据调整提醒逻辑,难以满足老年人使用需求。
国家《“十四五” 国民健康规划》明确提出 “开发适用于老年人的居家信息化产品”,为老人智能医嘱手环研发提供政策导向,多重因素共同推动该选题研究。智能医嘱手环对提升老年健康水平、优化医疗资源配置、促进智慧养老产业发展具有重要意义。
2 技术框架
STM32单片机+Wi-Fi无线通信技术+腾讯云平台+手机端小程序
下位机开发环境:Keil μVision5开发环境(C语言)
上位机开发环境:腾讯云平台
3 实现功能
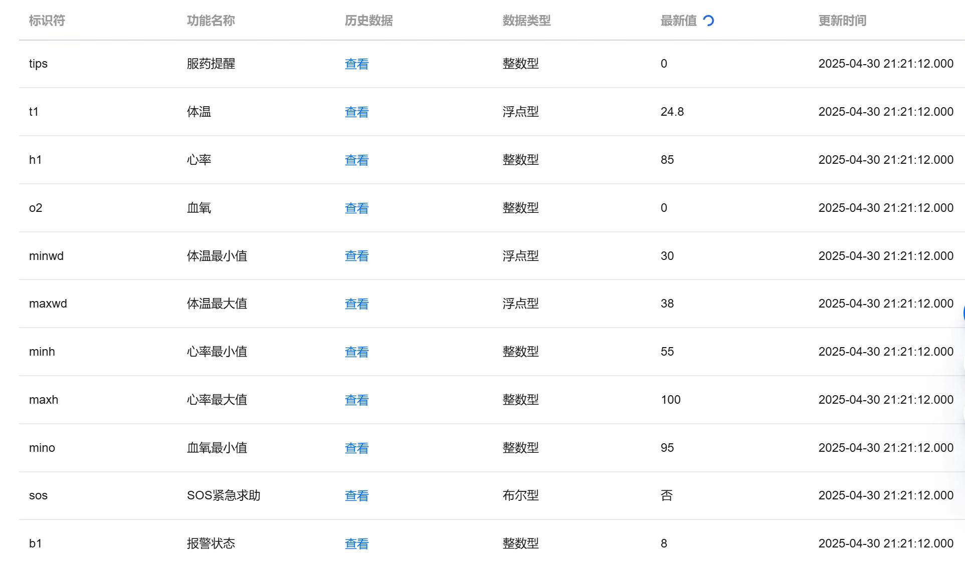
- 体温监测:采用DS18B20温度传感器监测老人的体温,当体温未处于设定阈值,蜂鸣器报警提醒,当体温高于阈值最大值时,语音播报“体温过高,需要吃退烧药”,并自动推送“老人已发烧,请及时关注”提醒监护人。
- 心率监测:采用Pulse Sensor心率传感器监测老人的心率,当心率未处于设定阈值,蜂鸣器报警提醒,当心率高于阈值最大值时,语音播报“心率过高,请及时就医”,并自动推送“老人心率过高,请及时关注”提醒监护人。
- 血氧监测:采用MAX30102血氧传感器监测老人的血氧情况,当血氧低于阈值时,语音播报“血氧过高,请及时就医”,并自动推送“老人血氧较低,请及时救助”提醒监护人。
- SOS紧急求助:在紧急情况下,老人可以按下求助按键进行求助,当按下求助按键时,蜂鸣器报警,并远程推送“老人正在求助,请及时帮助”提醒监护人。
- 医嘱吃药提醒:可以通过手机端定时设定吃药提醒和次数,到达时间后,通过语音播报对应内容提醒老人,吃药后,老人就可以通过本地按键进行取消。
- 阈值设定:可以根据老人实际情况通过本地按键或手机小程序设定体温、心率、血氧等数据的最适阈值。
- 屏幕显示:通过OLED显示屏实时显示检测的实时数据,便于老人查看。
- 远程监测:通过WiFi无线通信技术将监测数据上传腾讯云平台进行数据存储,监护者可登录云平台或手机端实现数据查看、阈值设定和接收预警等功能。
4 系统总体设计

5 实物效果图
![]() ![]() |
![]() ![]() |