当前位置: 首页 > news >正文

微服务项目->在线oj系统(Java-Spring)--C端用户管理

表结构设计

create table tb_user(
user_id bigint unsigned NOT NULL COMMENT '用户id(主键)',
nick_name varchar(20) comment '用户昵称',
head_image varchar(100) comment '用户头像',
sex tinyint comment '用户状态1:男 2:女',
phone char(11) not null comment '手机号',
code char(6) comment '验证码',
email varchar(20) comment '邮箱',
wechat varchar(20) comment '微信号',
school_name varchar(20) comment '学校',
major_name varchar(20) comment '专业',
introduce varchar(100) comment '个人介绍',
status tinyint not null comment '用户状态0:拉黑 1:正常',
create_by bigint unsigned not null comment '创建人',
create_time datetime not null comment '创建时间',
update_by bigint unsigned comment '更新人',
update_time datetime comment '更新时间',
primary key(`user_id`)
)

用户列表功能

后端代码

Controller
package com.bite.system.controller;import com.bite.common.core.controller.BaseController;
import com.bite.common.core.vo.TableDataInfo;
import com.bite.system.model.user.DTO.UserQueryDTO;
import com.bite.system.service.impl.user.IUserService;
import org.springframework.beans.factory.annotation.Autowired;
import org.springframework.web.bind.annotation.GetMapping;
import org.springframework.web.bind.annotation.RequestMapping;
import org.springframework.web.bind.annotation.RestController;@RestController
@RequestMapping("/user")
public class UserController extends BaseController {@Autowiredprivate IUserService userService;@GetMapping("/list")public TableDataInfo list(UserQueryDTO userQueryDTO) {return getDataTable(userService.list(userQueryDTO));}
}
DTO

Vo
package com.bite.system.model.user.vo;import com.fasterxml.jackson.databind.annotation.JsonSerialize;
import com.fasterxml.jackson.databind.ser.std.ToStringSerializer;
import lombok.Getter;
import lombok.Setter;@Getter
@Setter
public class UserVO {@JsonSerialize(using = ToStringSerializer.class)private Long userId;private String nickName;private Integer sex;private String phone;private String email;private String wechat;private String schoolName;private String majorName;private String introduce;private Integer status;
}
Entity
package com.bite.system.model.user;import com.baomidou.mybatisplus.annotation.IdType;
import com.baomidou.mybatisplus.annotation.TableId;
import com.baomidou.mybatisplus.annotation.TableName;
import com.bite.common.core.domain.BaseEntity;
import com.fasterxml.jackson.databind.annotation.JsonSerialize;
import com.fasterxml.jackson.databind.ser.std.ToStringSerializer;
import lombok.Getter;
import lombok.Setter;@Getter
@Setter
@TableName("tb_user")
public class User extends BaseEntity {@JsonSerialize(using = ToStringSerializer.class)@TableId(value = "USER_ID", type = IdType.ASSIGN_ID)private Long userId;private String nickName;private String headImage;private Integer sex;private String phone;private String code;private String email;private String wechat;private String schoolName;private String majorName;private String introduce;private Integer status;
}
Service
package com.bite.system.service.impl.user.imp;import com.bite.system.mapper.user.UserMapper;
import com.bite.system.model.user.DTO.UserQueryDTO;
import com.bite.system.model.user.vo.UserVO;
import com.bite.system.service.impl.user.IUserService;
import com.github.pagehelper.PageHelper;
import lombok.extern.slf4j.Slf4j;
import org.springframework.beans.factory.annotation.Autowired;
import org.springframework.stereotype.Service;import java.util.List;@Service
@Slf4j
public class UserServiceImpl implements IUserService {@Autowiredprivate UserMapper userMapper;@Overridepublic List<UserVO> list(UserQueryDTO userQueryDTO) {PageHelper.startPage(userQueryDTO.getPageNum(), userQueryDTO.getPageSize());return userMapper.selectUserList(userQueryDTO);}}
Mapper
import com.baomidou.mybatisplus.core.mapper.BaseMapper;
import com.bite.system.model.user.DTO.UserQueryDTO;
import com.bite.system.model.user.User;
import com.bite.system.model.user.vo.UserVO;import java.util.List;public interface UserMapper extends BaseMapper<User> {List<UserVO> selectUserList(UserQueryDTO userQueryDTO);
}
Mapper.xml
<?xml version="1.0" encoding="UTF-8" ?>
<!DOCTYPE mapperPUBLIC "-//mybatis.org//DTD Mapper 3.0//EN""http://mybatis.org/dtd/mybatis-3-mapper.dtd">
<mapper namespace="com.bite.system.mapper.user.UserMapper"><select id="selectUserList" resultType="com.bite.system.model.user.vo.UserVO">SELECTuser_id,nick_name,sex,phone,email,wechat,school_name,major_name,introduce,statusFROMtb_user<where><if test="userId !=null ">user_id = #{userId}</if><if test="nickName !=null and nickName != ''">AND nick_name like concat('%', #{nickName}, '%')</if></where>ORDER BYcreate_time DESC</select>
</mapper>

修改用户状态功能

后端代码

Controller
  @PutMapping("/updateStatus")//todo 拉黑:限制用户操作   解禁:放开对于用户限制//更新数据库中用户的状态信息。public R<Void> updateStatus(@RequestBody UserDTO userDTO) {return toR(userService.updateStatus(userDTO));}
DTO
@Getter
@Setter
public class UserDTO {private Long userId;private Integer status;
}
Service

这里逻辑和代码都很简单,就是去数据库里面查找到用户,然后修改用户的状态,然后再存入数据库里面

 @Overridepublic int updateStatus(UserDTO userDTO) {User user = userMapper.selectById(userDTO.getUserId());if (user == null) {throw new ServiceException(ResultCode.FAILED_USER_NOT_EXISTS);}user.setStatus(userDTO.getStatus());return userMapper.updateById(user);}

前端代码

cuser.js

import service from '@/utils/request'export function getUserListService(params) {return service({url: "/user/list",method: "get",params,});
}export function updateStatusService(params = {}) {return service({url: "/user/updateStatus",method: "put",data: params,});
}

cuser.vue

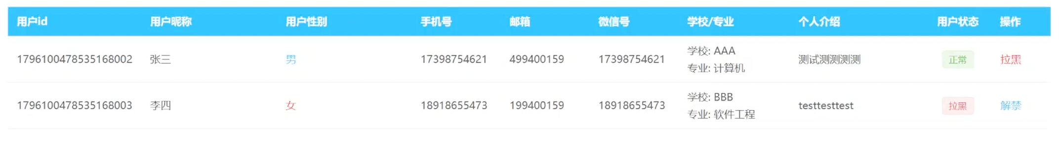
<template><!-- 表单 --><el-form inline="true"><el-form-item label="用户id"><el-input v-model="params.userId" placeholder="请您输入要搜索的用户id" /></el-form-item><el-form-item label="用户昵称"><el-input v-model="params.nickName" placeholder="请您输入要搜索的用户昵称" /></el-form-item><el-form-item><el-button @click="onSearch" plain>搜索</el-button><el-button @click="onReset" plain type="info">重置</el-button></el-form-item></el-form><!-- 表格 --><el-table height="526px" :data="userList"><el-table-column prop="userId" label="用户id" width="180px" /><el-table-column prop="nickName" label="用户昵称" /><el-table-column prop="sex" label="用户性别"><template #default="{ row }"><div v-if="row.sex === 1" style="color:#3EC8FF;">男</div><div v-if="row.sex === 2" style="color:#FD4C40;">女</div></template></el-table-column><el-table-column prop="phone" width="120px" label="手机号" /><el-table-column prop="email" width="120px" label="邮箱" /><el-table-column prop="wechat" width="120px" label="微信号" /><el-table-column label="学校/专业" width="150px"><template #default="{ row }"><span class="block-span"> 学校: {{ row.schoolName }}</span><span class="block-span"> 专业: {{ row.majorName }}</span></template></el-table-column><el-table-column prop="introduce" label="个人介绍" /><el-table-column prop="status" width="90px" label="用户状态"><template #default="{ row }"><el-tag type="success" v-if="row.status">正常</el-tag><el-tag type="error" v-else>拉黑</el-tag></template></el-table-column><el-table-column label="操作" width="80px" fixed="right"><template #default="{ row }"><el-button class="red" v-if="row.status === 1" type="text" plain@click="onUpdateUserStatus(row.userId, 0)">拉黑</el-button><el-button v-if="row.status === 0" type="text" plain @click="onUpdateUserStatus(row.userId, 1)">解禁</el-button></template></el-table-column></el-table><!-- 分页区域 --><el-pagination background size="small" layout="total, sizes, prev, pager, next, jumper" :total="total"v-model:current-page="params.pageNum" v-model:page-size="params.pageSize" :page-sizes="[5, 10, 15, 20]"@size-change="handleSizeChange" @current-change="handleCurrentChange" />
</template><script setup>
import { reactive, ref } from 'vue';
import { getUserListService,updateStatusService } from '@/apis/cuser'const params = reactive({pageNum: 1,pageSize: 10,userId: '',nickName: '',
})const userList = ref([])
const total = ref(0)async function getUserList() {const ref = await getUserListService(params)userList.value = ref.rowstotal.value = ref.total
}
getUserList()function onSearch() {params.pageNum = 1getUserList()
}function onReset() {params.pageNum = 1params.pageSize = 10params.userId = ''params.nickName = ''getUserList()
}function handleSizeChange(newSize) {params.pageNum = 1getUserList()
}function handleCurrentChange(newPage) {getUserList()
}const updateStatusParams = reactive({userId: '',status: '',
})async function onUpdateUserStatus(userId, status) {updateStatusParams.userId = userIdupdateStatusParams.status = statusawait updateStatusService(updateStatusParams)getUserList()
}
</script>

http://www.dtcms.com/a/446674.html

相关文章:

  • 网站推广双鼎九九建筑网66kv架空线路设计视频讲座
  • 网站模板分享网站开发招投标书
  • 常州微信网站建设方案全网营销公司有哪些
  • 计算机理论学习Day10
  • 第8章:扩展边界:技术之外的视野(3)
  • 医院做网站开发做网站的主机配置
  • 做的比较好的车载嗨曲网站淘宝联盟怎么建设网站
  • 计算机网络自底向上——物理层笔记整理
  • 南京服务好建设网站哪家好网站开发项目架构说明书
  • 如何建造网站视频教程能用的免费proxy网页
  • 天津网站建设优化企业网站静态页面访问很快php页面访问非常慢
  • (2025年10月最新教程)如何用大陆护照+个人港卡注册Stripe个人账户
  • 红和蓝的企业网站设计宁波网站建设优化服务公司
  • 兴扬汽车网站谁做的three.js做的酷炫网站
  • 做炒作的网站拓者设计吧室内设计论坛
  • 佛山外贸网站建设新闻外贸seo网站推广公司
  • 10.5作业
  • C++进阶(8)——异常
  • Mybatis 主键配置错误做成查询数据丢失
  • wap自助建站排板网站维护 网站后台建设知识
  • Ubuntu中安装Nuclei教程
  • 关于旅游电子商务网站建设论文浙江联科网站建设
  • 什么网站可以兼职做设计国际新闻最新消息今天 新闻
  • 珠海专业网站建设费用河北建设局网站
  • 提高开发技能的Python设计模式
  • 网站方案模板购买网站空间ftp设计
  • python网站开发优缺网页微信版官网登录下载
  • dedecms 购物网站建设信息网的网站或平台登陆
  • 【C++实战(71)】解锁C++音视频开发:FFmpeg从入门到实战
  • 运营好网站wordpress 在线商店