从单品互联到全屋智能:BLE协议如何引爆下一代家居交互革命
万物互联时代,全屋智能正从概念走向现实,而蓝牙低功耗(BLE)技术凭借独特优势,已成为构建智慧家庭生态的核心驱动力之一。作为一项成熟且持续创新的无线通信协议,BLE技术不仅以“低功耗”定义行业标准,更凭借Mesh组网能力打破场景疆界,为智能家居设备提供了灵活、可靠、可扩展的解决方案,有力推动了全屋智能的落地应用。

据中商产业研究院整理数据显示,2023年我国智能家居市场规模为7257亿元,预计到2024年将达7848亿元,到2025年将达到8526亿元,同比增长率约为10%。随着未来新房建设和老房改造的需求增多,以及物联网、云计算、人工智能等技术的更新迭代,智能家居市场将呈上升态势持续发展,市场渗透率亦有望逐步提高,市场潜力巨大。
BLE 技术,推动智能家居发展的 “重要引擎”
BLE技术在继承传统蓝牙功能的同时,将功耗大幅降低,是专为传感器、智能门锁、温控器等对功耗要求苛刻、数据传输量小、需要长期稳定运行的小型终端设备而设计。其可通过优化的协议栈设计、LE Power Control(功率控制)功能与休眠算法等能力,大幅提升这些小型终端设备在电池供电条件下的使用寿命,是各种小型智能家居设备理想的无线连接解决方案。
BLE设备工作在2.4GHz的ISM频段,该频段共划分了40个信道(信道带宽为2MHz)。其中,3 个Advertising信道(37、38、39)用于设备的发现和连接请求等操作,37 个Data信道用于数据传输。

BLE设备可以周期性地通过Advertising信道发送广播数据包,其他设备则可通过扫描操作监听广播数据包以发现可连接的 BLE 设备。例如:当一个BLE设备发现另一个BLE设备并希望建立连接时,它会发送连接请求,如果目标设备接受请求,双方就会建立起一个点对点的连接。连接建立后,设备之间可以进行数据的双向传输,从而实现各种智能控制功能。
BLE技术采用了快速连接和断开机制,BLE设备在大部分时间可处于休眠状态,仅在需要传输数据时才被短暂激活,如智能手表与手机连接后,平时可处于低功耗监听模式,有数据交互时才唤醒工作,大大降低了能耗。
此外,BLE技术还具有成熟的开发工具和软件协议栈,开发者可利用丰富的开源资源和示例代码,缩短开发周期,降低开发成本与技术门槛。同时,BLE技术还采用了先进的纠错和重传机制,在有干扰的环境中也能保证数据传输的准确性,如在信道拥挤的环境中,BLE设备仍能准确传输数据。
BLE Mesh技术,推动单品互联到全屋智能
随着智能家居市场的持续发展,蓝牙设备进行一对一、一对多的数据通信已逐渐难以满足众多智能家居设备互联互通的连接需求,而蓝牙低功耗网状网络(BLE Mesh)技术支持多对多网络拓扑(类似网状结构),多个蓝牙设备可以互相发送消息并可作为中继点将消息转发到网络中的其他设备,从而扩展了网络的覆盖范围,让智能家居设备之间可以自由交流、协同工作,是推动单品互联到全屋智能的重要技术驱动力之一。

BLE Mesh网络协议栈 图源:SIG
BLE Mesh技术是建立在BLE协议基础上的一种通信协议,旨在为BLE设备创建一个多节点、多跳的网状网络,使设备之间能够进行高效、可靠的通信。其利用了蓝牙技术广泛的市场接受度和低功耗特性,将蓝牙的应用场景从传统的一对一或一对多连接扩展到了大规模的设备网络。

接入BLE Mesh网络中的所有设备都可以被称为节点,而所有节点都能够在Mesh网络中发送并接收消息。此外,一些节点(如传感器)的电池有可能会被耗尽,而其他节点(如照明设备、制造机械和安防摄像机)则会通过主电网来获取电力,不同节点的处理能力会存在差异,因此不同节点在mesh网络中可扮演不同的角色,主要表现出上表的四个节点特征(Features)。

BLE mesh网络拓扑结构简示图
如上图所示,当BLE节点1(手机、平板)需要向低功耗节点1(传感器)传输信息时,会通过GATT Bearer向中继节点2发送信息,中继节点则通过ADV Bearer在广播信道转发BLE节点1(手机、平板)的信息,而朋友节点1、普通节点3和中继节点2都在其无线信号覆盖范围内并接收到消息,朋友节点1作为低功耗节点1(传感器)的好友会储存接收到的信息,而低功耗节点1(传感器)会在唤醒后查询朋友节点1的储存信息来取得BLE节点1(手机、平板)发送给它的消息并做相应的处理。
在万物互联的时代发展背景下,各种传感器、温控器与湿度计等小型终端已被广泛嵌入至智能家居系统之中,它们依靠电池供电且需要长时间稳定的运行,还必须周期性地向控制中心汇报监测信息,而BLE Mesh 技术凭借网状网络架构、低功耗特性与低成本优势,完美契合大量低功耗设备的互联需求,可为智能家居系统的高效运作提供坚实支撑。
值得一提的是,当BLE Mesh技术为全屋智能成功搭建起设备互通的网络骨架时,如何将各种家居设备完美接入网络中就成为了行业关注的焦点,而这则需要底层BLE芯片在通信性能、功耗控制与功能集成等维度上通过设计实现。
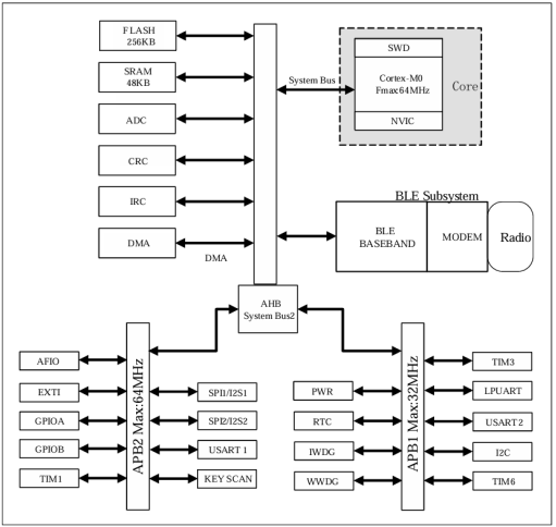
例如,CMT4531就是一款超低功耗物联网蓝牙无线通信芯片,搭载 32 位 ARM®Cortex™-M0 内核,最高工作主频64MHz,配备48KB SRAM与256KB FLASH,具有超低功耗、高性能和无线多模的特点,支持无线数据透传功能、全双工双向通讯,最低波特率9600bps。

CMT4531 产品框图
CMT4531 支持BLE高速数据吞吐,包括BLE 2Mbps PHY协议与长度扩展功能;同时,CMT4531还可完全支持BLE Mesh协议下的Friend、LowPower、Proxy、Relay等多种节点特性,是打造智能家居BLE Mesh网络的理想选择之一。
展望未来,随着技术的不断进步和创新,BLE 技术在智能家居中的应用前景将更加广阔。它将不断拓展新的应用场景,与其他前沿技术深度融合,为智能家居的发展注入源源不断的动力,引领我们迈向更加智能、美好的未来生活。
