yolov4和yolov5(yolov4的工业化)
yolov4优化的部分
1Bag of freebies

随着后期硬件越来越好,我们可以采用训练成本高点但是效果好点的方式了。例如之前我们采用RELU激活函数,现在改成了Mish
2 数据增强
我们把四张图片的四个部分加一块变成一个图片然后去检测,或者把一个图片的部分马赛克遮住,然后去检测,这样也就是去增加难度,如果这样都可以识别出,那么正常肯定也能。



相比于传统的Dropout技术,DropBlock不是随机屏蔽掉一部分特征(注意是对特征图进行屏蔽),而是随机屏蔽掉多个部分连续的区域。这种方法有助于减少神经网络中的冗余连接,从而提高模型的泛化能力。
3 平滑处理

4 IOU损失值优化
总而言之就是,我们的IOU在值相同的情况下找出最优的那种情况,优化检测速度。引进了一个IOU的损失函数。




5 非极大值抑制的改进


6 网络结构的改进

a SPP-Net

b CSPNET
c 注意力机制


7 路由层优化



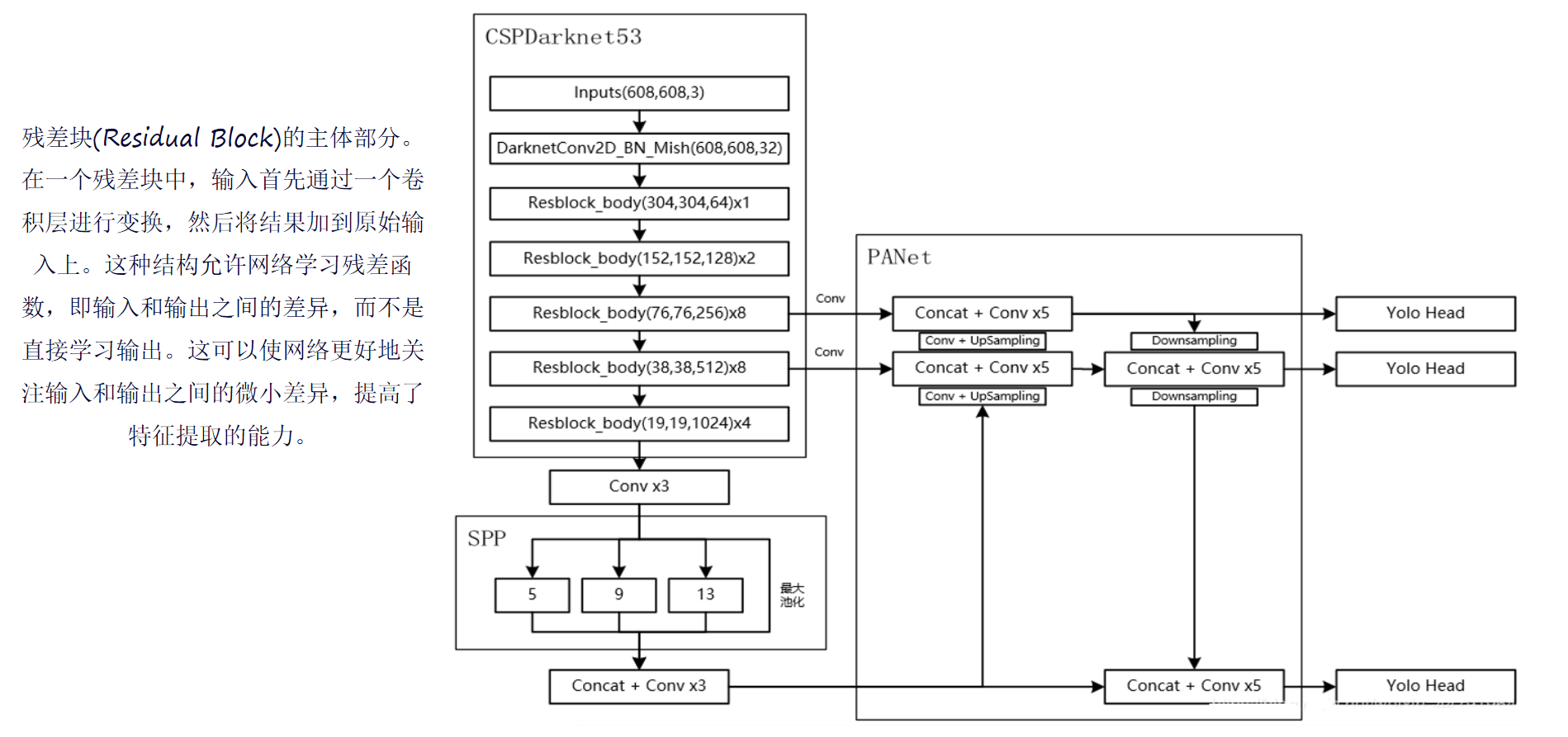
网络架构

总结
相对于yolov3
1 Bag of freebies 增加训练成本来提高效果
2 数据增强 对图片进行模糊处理,进行打马赛克,不同图片拼接
3 平滑处理 对每一个类别不绝对化,归一化处理例如(1,0)改成(0.95,0.05)
4 IOU损失优化 就是原本是直接对IOU值进行求损失值,现在加上一个IOU框的中心点距离的损失
5 非极大值抑制 当两个目标重合度比较高,这个时候要优化非极大值抑制才能检测到后面的那一个目标
6 网络结构的的改进 使得输入的图片大小不再限制,并且增强了模型的效果,并采用了注意力机制,降低检测难度并且更快了
7 路由层优化 从前面的直接拼接该成相加
8 激活函数优化 就是从luck_ReLU该成了Mish.
