当前位置: 首页 > news >正文

计算机毕设java中学生心理健康管理系统 中学生心理健康管理的Java平台解决方案 Java技术驱动的中学心理健康管理系统研发

计算机毕设java中学生心理健康管理系统j036n9 (配套有源码 程序 mysql数据库 论文)
本套源码可以在文本联xi,先看具体系统功能演示视频领取,可分享源码参考。

在当今数字化时代,互联网技术飞速发展,深刻改变了人们的生活和学习方式。中学生作为社会的未来和希望,他们的心理健康问题日益受到家长、学校和社会的高度关注。为了更好地管理中学生心理健康,提高心理健康管理的效率和科学性,开发一套基于Java的中学生心理健康管理系统显得尤为重要。

本系统采用Java语言,结合Spring Boot框架、MySQL数据库、B/S架构以及VUE前端框架,旨在构建一个高效、便捷、安全的中学生心理健康管理平台。系统的主要功能如下:

  1. 用户注册与登录:新用户可以进行注册,已有用户通过用户名和密码登录系统。

  2. 首页展示:提供系统导航条,链接到调查问卷、健康文章、心理咨询等模块。

  3. 调查问卷管理:用户可以查看、填写和管理调查问卷,管理员可以发布和管理问卷。

  4. 健康文章管理:提供心理健康相关文章的发布、查看和管理功能。

  5. 心理咨询管理:为学生提供心理咨询预约和管理功能。

  6. 个人信息管理:允许用户更新和管理个人详细信息。

  7. 留言管理:学生和教师可以发布、查看和管理留言,方便沟通交流。

  8. 系统管理:管理员可以对系统进行设置和管理,包括用户管理、数据备份等。

这些功能的集成使得本系统能够全面覆盖中学生心理健康管理的各个方面,为学校、教师、学生及其家长提供一个全面的管理工具。通过本系统,可以更轻松地跟踪和管理中学生的心理健康状况,促进学生的全面发展和健康成长。

注:以上是纯课题毕业设计功能介绍,并非实际开发完成,最终开发完成的毕业设计程序以下面的的环境软件、功能图和界面为准。

系统所需要的环境软件:idea、eclipse+mysql5.7、8.0+Navicat+JDK1.8+tomcat7.0

3.1可行性研究

通过对系统研究目标及内容的分析审察后,提出可行性方案,并对其进行论述。主要从技术可行性出发,再进一步分析经济可行性和环境运行可行性分析、法律可行性分析等方面[8]

3.1.1技术可行性分析

技术可行性分析基于现在web水平、软硬件水平能否开发出中学生心理健康管理系统,经过对市面常见中学生心理健康管理系统了解研究对比,以及此次中学生心理健康管理系统的估测,预计在技术方面开发本中学生心理健康管理系统是可行的。第一,JAVA技术发展成熟且市面十分流行,由JAVA完成本中学生心理健康管理系统的开发、调试,结合市面成熟的集成开发软件辅助开发,且本电脑配置win10系统,足够满足本次中学生心理健康管理系统开发。第二,验证技术发展迅速,使得本中学生心理健康管理系统安全性很高。综上所诉,开发本中学生心理健康管理系统完全可行[9]

3.1.2 经济可行性分析

经济可行性分析,就是分析在现有经济情况下能否完成本中学生心理健康管理系统的开发。下面对本系统开发、运行、维护的相关费用评估,以及投入到社会完成中学生心理健康管理可能费用进行估算。网络资源丰富,本中学生心理健康管理系统只需使用任选一开源服务器即可,此方面无需投入费用。开发阶段,由于本中学生心理健康管理系统不属于大型系统,常规的电脑就可完成开发,不用购置相关硬件设备。软件方面,本中学生心理健康管理系统只需使用网上免费下载的软件即可完成开发,这些软件在使用时简单易懂,无需培训,因此此方面也无需投入费用。由于本中学生心理健康管理系统不属于大型系统,运行时候电费可以忽略不记。中学生心理健康管理系统作为自己毕设,由本人开发即可完成,无需人力费用。综上,整个系统开发花费很少,所以本中学生心理健康管理系统在经济上可行[10]

3.1.3 环境运行可行性分析

软件在能否在客户端使用并发挥效益的制约关键就是运行环境。计算机普及,现在人们接触各类系统频繁,日常生活使用计算机无障碍。并且该中学生心理健康管理系统页面简单,通过显示页面引导即可完成本中学生心理健康管理系统删除、增加、修改等功能。对计算机要求低,门槛低,通过常用浏览器即可使用本中学生心理健康管理系统。因此在运行环境方面,本中学生心理健康管理系统易于接受,是可行的[11]

3.1.4 法律可行性分析

法律可行性分析,即分析本中学生心理健康管理系统是否与各类法律相悖。本中学生心理健康管理系统使用市面开源免费软件开发,且作为个人毕设,无商用,均为本人自主开发,并且页面设计合理,发布的信息要求符合常规。整个系统无抵触法律法规的问题。因此在法律上,本中学生心理健康管理系统可行[12]

3.2系统用例图

用例图,即以用户视角来描述本中学生心理健康管理系统的功能,前面已经分析了本中学生心理健康管理系统的总体设计,讨论了各个方面的需求。下面,将以管理员和学生、教师为例

管理员的用例图,如图3-1所示。

           

  

                           3-1管理员用例图

学生的用例图,如图3-2所示。

            

  

                        3-2 学生用例图

教师的用例图,如图3-3所示。

            

  

                        3-3教师用例图

3.3系统流程设计

3.3.1 系统开发流程

中学生心理健康管理系统的设计和开发,首先要对用户的实际使用需求和具体情况进行细致的分析,分析出系统要完成的全部功能,然后再针对整个系统的工作流程和功能进行设计,力求每个模块都能够达到用户的要求,最后通过测试来解决问题,保证系统的稳定和正常的运转,本系统的开发流程如图3-3所示。

3-3系统开发流程图

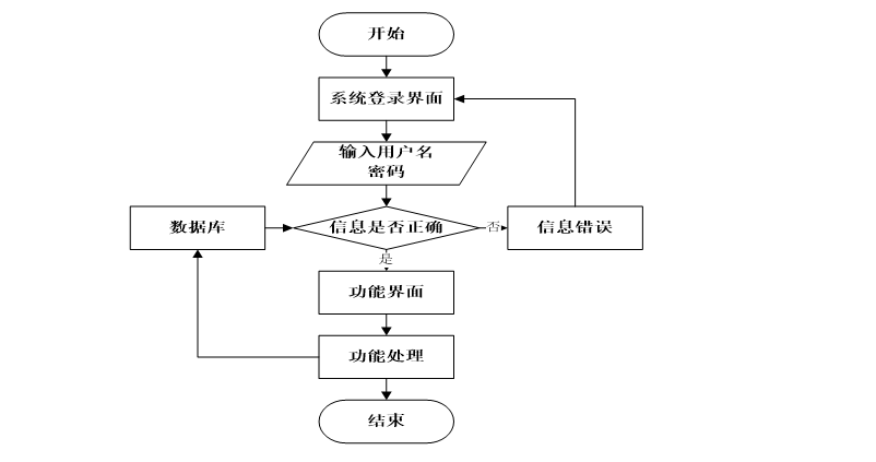
3.3.2 用户登录流程

登录流程实现了管理员和其他用户的登录,在登录页面需要用户填写自己的信息,前端页面会将信息传递给后端接口,然后查询数据库确定该身份有效后登录成功否则此用户登录失败,需要重新填写信息,进行再次验证,如图3-4所示。

3-4登录流程图

3.3.3 系统操作流程

系统操作流程分析是软件开发过程中的一个关键环节,它是整个系统整体的运行过程,必须保证其中的每一个步骤都是确定的,这样一个规范的流程图可以使开发者易于理解,快速的投入到接口开发中,从而提升系统开发效率。

同时,流程图还能减少开发者对系统操作流程产生歧义和降低沟通的成本,系统操作流程如图3-5所示。

3-5系统操作流程图

3.3.4 添加信息流程

系统的正常运行离不开数据的支撑,因此,在本系统中添加了数据插入功能数据库中数据的缺失,会直接影响到数据的查询结果,查询结果错误又会导致逻辑处理出现偏差,最终导致系统性错误或故障,所以在对系统进行数据添加操作时,必须要对数据进行合法性校验,确定此条数据是否有惟一的主关键字和字段是否允许为空等等,若数据库表中不允许某字段为空,而程序没有进行该字段非空逻辑校验,那么就会出现数据存储失败,可能因此造成严重系统后果。添加信息流程如图3-6所示。

3-6添加信息流程图

3.3.5 修改信息流程

因为使系统的使用者是人,所以难免会有疏忽,从而造成系统输入的信息有误。或者由于其他原因导致数据发生改变,使得必须对系统内的数据进行相应的调整,所以在程序运行中,数据的修改操作是不可缺少的重要环节。

在进行数据更新时,必须要有一个惟一的主关键字,以便数据库能够查询到相应的数据;另外,还必须遵守数据插入过程的操作规范,以确保数据的正确性。修改信息流程图如图3-7所示。

3-7修改信息流程图

3.3.6 删除信息流程

删除操作在系统中并非是必须的,可根据用户及系统的需要来决定是否添加删除功能,删除操作就是使用delete语句将数据库中的某一匹配数据删除,因为此操作会导致用户数据丢失,所以为了避免使用者误按删除键,应在用户点击删除按钮时添加一个提示确认弹窗,当用户确定要删除时,再进行数据库的操作,并且在删除操作完成后要对用户进行反馈。删除信息流程图如图3-8所示。

3-8 删除信息流程图

4系统设计

4.1系统功能结构图

系统功能结构图是系统设计阶段,系统功能结构图只是这个阶段一个基础,整个系统的架构决定了系统的整体模式,是系统的根据。中学生心理健康管理系统的整个设计结构如图4-1所示。

4-1系统功能结构图

4.2系统数据库设计

对于中学生心理健康管理系统而言,数据库中最核心的数据就是信息,并且有许多其他关联数据都储存于数据库中。随着时间推移,将发布大量信息于本系统中,届时数据库中也将蕴藏海量数据。一个优秀的数据库设计方案能在保证系统能够高效处理大量数据的同时保证系统的安全性。因此,在本中学生心理健康管理系统设计方案中将数据库的设计摆在重要位置,将数据库设计视为系统设计的重要内容。

4.2.1数据库E-R图

E-R图,是通过用户的想法将一些数据形成一种关系结构,这种关系结构也可视为一种概念模型,而数据库的数据处理可以通过概念模型表现直观反映出来。由于E-R图是从用户的角度设立的模型,因此系统E-R图具有很强的实践意义。

教师信息实体图如图4-2所示:

图4-2教师信息实体图

学生信息实体图如图4-3所示:

图4-3学生信息实体图

调查问卷实体图如图4-4所示:

 图4-4调查问卷实体图

学生留言实体图如图4-5所示:

图4-5学生留言实体图

5.1注册登录界面

用户需要输入正确的用户名和密码后才可以登录系统并正常使用。如果是第一次使用的新用户,应当先进行账户的注册。注册和登录的界面应当设置便捷的跳转按钮。当用户输入的信息不正确时应当进行相应的提示。如登录时输入的账户有误,应当提示用户该账户不存在。同样的,操作时应该提供积极的反馈,避免用户重复操作。如新用户注册账户时,如果注册成功应该提示“注册成功”的消息栏。

当用户成功登录后,应该进入到系统的导航界面。

登陆界面利用表单输入,点击登录按钮会将表单通过相关接口提交给后台后台验证通过会返回用户的对应Token信息,将Token信息存储到浏览器Session Stroge中,保证浏览器可以判断用户是否未登录状态。反之,如果该用户不存在,后台会返回对应的提示信息。

注册界面由用户名,密码组成,填写完整后通过相关接口提交,后台会将该用户信息存入Mysql数据库中,建立相关的表结构,返回注册成功code。

5.2前台首页功能模块

游客打开系统的网址后,首先看到的就是首页界面在这里游客能够看到中学生心理健康管理系统导航条显示首页、调查问卷、健康文章、心理咨询、后台管理、个人中心等。系统首页界面如图5-1所示

图5-1 系统首页界面

这是一个学生注册的界面,当学生没有账户时可以通过注册来登录系统,只需要根据相应的提示,输入用户账号、密码、确认密码、用户姓名、头像、性别、手机号码等信息即可。学生注册界面图5-2所示

图5-2 学生注册界面

这是学生登录界面,学生在登录页面填写账号或者密码,点击登录,图5-3所示:

图5-3学生登录页面

学生点击出调查问卷页面搜索栏输入标题、问卷类型进行查询,然后可以查看标题、图片、问卷类型、发布时间、教师工号、教师姓名等信息,如果有需要可以进行填写等操作,图5-4所示:

图5-4调查问卷页面

在个人中心页面可以输入个人详细信息进行信息更新操作5-5所示

   5-5个人中心界面

5.3管理员功能模块

后台管理员登录,在登录页面选择需要登录的角色,在正确输入用户名和密码后,点击登录操作;如图5-6所示。                               

图5-6 后台管理员登录界面

管理员进入系统主页面,主要功能包括对系统首页、个人中心、学生管理、教师管理、问卷类型管理、调查问卷管理、完成问卷管理、健康文章管理、学生留言管理、教师留言管理、系统管理等进行操作。管理员主页面如图5-7所示

图5-7 管理员主界面

管理员点击学生管理:在学生管理页面,可以对学生账号、学生姓名、性别、头像、年龄、电话号码等信息,进行查询或者新增、删除学生信息等操作,如图5-8所示:

5-8学生管理界面

管理员点击教师管理:在教师管理页面,可以对教师工号、教师姓名、性别、头像、电话号码等信息,进行查询或者新增、删除教师信息等操作,如图5-9所示:

5-9教师管理界面

管理员点击调查问卷管理:在调查问卷管理页面,可以对标题、图片、问卷类型、发布时间、教师工号、教师姓名等信息,进行查询或者删除调查问卷等操作,如图5-10所示:

5-10调查问卷管理界面

管理员点击完成问卷管理:在完成问卷管理页面,可以对填写编号、标题、问卷类型、完成时间、学生账号、学生姓名、教师工号、教师姓名等信息,进行查询或者删除完成问卷等操作,如图5-11所示:

5-11完成问卷管理界面

管理员点击健康文章管理:在健康文章管理页面,可以对文章编号、文章名称、图片、教师工号、教师姓名等信息,进行查询或者删除健康文章等操作,如图5-12所示:

5-12健康文章管理界面

管理员点学生留言管理:在学生留言管理页面,可以对留言编号、留言时间、学生账号、学生姓名、教师工号、教师姓名、回复等信息,进行查询或者删除学生留言等操作,如图5-13所示:

5-13学生留言管理界面

管理员点教师留言管理:在教师留言管理页面,可以对留言编号、留言时间、教师工号、教师姓名、学生账号、学生姓名、回复等信息,进行查询或者删除教师留言等操作,如图5-14所示:

5-14教师留言管理界面

5.4学生功能模块

学生点击后台管理,然后页面跳转到系统主页面,主要功能包括对系统首页、个人中心、完成问卷管理、学生留言管理、教师留言管理等进行操作用户主页面如图5-15所示

图5-15 学生主界面

源码无偿分享,文未领取

http://www.dtcms.com/a/511387.html

相关文章:

  • 模重复平方计算法
  • 温州网站制作套餐.net网站开发是什么对象开发
  • Tuning——CC调试(适用高通)
  • 【AI智能体开发】什么是LLM?如何在本地搭建属于自己的Ai智能体?
  • Leetcode+Java+图论+并查集
  • 网站代备案流程图越秀网站建设推广
  • 网站 app 公众号先做哪个网站建设实践
  • SpringBoot常用内置工具类使用示例
  • Qt和ffmpeg结合打造gb28181推流/支持udp和tcp被动以及tcp主动三种方式
  • 设计模式-工厂模式:解耦对象创建的设计艺术
  • UVa 1660 Cable TV Network
  • 使用 Python 语言 从 0 到 1 搭建完整 Web UI自动化测试学习系列 20--PO(POM) 设计模式和用例撰写
  • 网站建设年度计划申请了域名 网站怎么建设呢
  • 《黄雀》电视剧总结
  • 云计算与服务器概述
  • 【Java Web学习 | 第1篇】前端 - HTML
  • Jenkins流水线项目发布
  • 网站优化需要做什么烟台网站建设比较大的
  • CAN入侵检测系统IDS不行,用扩充白名单机制保证汽车功能安全需求
  • 微软Teams的Media bypass的介绍
  • 分布式一致性
  • 使用微软Agent Framework .NET构建智能代理应用
  • MOSHELL (10) : COLI 交互
  • 九江网站开发wordpress适合seo
  • 【JavaScript】some方法的详解与实战
  • 买机票便宜网站建设分站式二手车网站源码
  • windows配置hadoop环境
  • Java中的单例模式
  • K8s部署,新版本
  • LXC容器操作实战【Linux】