当前位置: 首页 > news >正文

电容式传感器

文章目录

  • 电容式传感器的工作原理及分类
    • 电容传感器的工作原理
    • 电容传感器的分类🚩
      • 变极距型电容传感器
      • 变面积型电容传感器
      • 变介质型电容式传感器
  • 电容式传感器等效电路
    • 低频等效电路
    • 高频等效电路
  • 电容式传感器的测量电路
    • 调频测量电路
    • 运算放大式测量电路
    • 二极管双T型交流电桥
    • 差动脉冲调宽电路🚩

电容式传感器:将变化转换为电容量的变化来实现对物理量的测量

电容式传感器的工作原理及分类

电容传感器的工作原理

电容传感器的工作原理可以用平板电容器来说明:

由绝缘介质分开的两个平行金属板组成的平板电容器

在这里插入图片描述

如果不考虑边缘效应,其电容量为:
C = ε A d C=\frac{εA}{d} C=dεA

  • ε ε ε 是两个极板间介质的介电常数
    ε = ε 0 ε r ε=ε_0ε_r ε=ε0εr
    ε 0 ε_0 ε0 真空介电常数, ε r ε_r εr 极板间介质的相对介电常数
  • A A A 是两个极板相对有效面积
  • d d d 是两个极板间的距离

电容传感器的分类🚩

由公式 C = ε A d C=\frac{εA}{d} C=dεA 可知,影响电容 C C C 的因素有三个,因此电容式传感器可分为三种类型:

  • 变极距型:改变两个极板间的距离来改变电容大小
  • 变面积型:改变形成电容的有效面积来改变电容大小
  • 变介电常数型:改变介质的介电常数来改变电容大小

根据极板的结构形式将电容式传感器称为:平板型、圆筒形、球面形等

根据电容式传感器在工作时是否是差动的原理可以将其分为:单边结构和差动结构

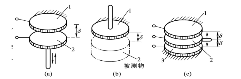
变极距型电容传感器

在这里插入图片描述

(a) 极板 1 为固定极板,极板 2 为可动极板,可动极板会随着外界物体的运动而移动,两极板之间的距离也随之改变,从而电容大小改变(单边结构,只有一个电容随着外界位移发生改变)

(b) 极板 1 为固定极板,将被测物体本身当作一个可动极板,随着被测物的形变或者位置变化,两极板之间的距离也随之改变,从而电容大小改变(单边结构,只有一个电容随着外界位移发生改变)

© 极板 1 和极板 3 为固定极板,极板 2 为可动极板,当极板 2 位于极板 1 和极板 3 中间位置时,上下两个电容的大小相等;当中间极板位置改变的时候,上下两个电容就会呈现相反变化(差动式结构)


单边结构式变极距型电容传感器的电容计算
C 0 = ε 0 ε r A d 0 C = C 0 + Δ C = ε 0 ε r A d 0 − Δ d = C 0 ( 1 + Δ d d 0 ) 1 − ( Δ d d 0 ) 2 C_0=\frac{ε_0ε_rA}{d_0}\\ C=C_0+ΔC=\frac{ε_0ε_rA}{d_0-Δd}=\frac{C_0(1+\frac{Δd}{d_0})}{1-(\frac{Δd}{d_0})^2} C0=d0ε0εrAC=C0+ΔC=d0Δdε0εrA=1(d0Δd)2C0(1+d0Δd)
Δ d d 0 \frac{Δd}{d_0} d0Δd 假定比较小(一般小于 10%)
C ≈ C 0 + C 0 Δ d d 0 = C 0 ( 1 + Δ d d 0 ) ⟹ Δ C = C 0 Δ d d 0 C≈C_0+C_0\frac{Δd}{d_0}=C_0(1+\frac{Δd}{d_0}) \implies ΔC=C_0\frac{Δd}{d_0} CC0+C0d0Δd=C0(1+d0Δd)ΔC=C0d0Δd
在这里插入图片描述

变极距型电容式传感器只有在 Δ d / d 0 Δd/d_0 Δd/d0 很小时,才有近似的线性关系

d 0 d_0 d0 越小,同样的 Δ d Δd Δd 变化所引起的 Δ C ΔC ΔC 越大,传感器灵敏度越高
d 0 d_0 d0 过小会容易引起电容器击穿短路,可采用高介电常数的材料(云母、塑料膜等)作介质,则极板间初始距离可大大减小

差动结构式变极距型电容传感器的电容计算

在实际压力测量中,常使用差动电容传感器,不但提高了灵敏度,也改善了非线性

在这里插入图片描述

灵敏度得到一倍的改善

变面积型电容传感器

在这里插入图片描述

  • 线位移型
    Δ C = C − C 0 = ε 0 ε r b ( a − Δ x ) d − ε 0 ε r a b d = − ε 0 ε r b d Δ x = − C 0 Δ x a \begin{align} ΔC&=C-C_0\\ &=\frac{ε_0ε_rb(a-Δx)}{d}-\frac{ε_0ε_rab}{d}\\ &=-\frac{ε_0ε_rb}{d}Δx\\ &=-C_0\frac{Δx}{a} \end{align} ΔC=CC0=dε0εrb(aΔx)dε0εrab=dε0εrbΔx=C0aΔx
    线位移型的电容相对变化:
    Δ C C = Δ x a \frac{ΔC}{C}=\frac{Δx}{a} CΔC=aΔx

  • 角位移型
    Δ C = ε 0 ε r A 0 ( 1 − θ π ) d 0 = C 0 − C 0 θ π \begin{align} ΔC&=\frac{ε_0ε_rA_0(1-\frac{θ}{π})}{d_0}\\ &=C_0-C_0\frac{θ}{π} \end{align} ΔC=d0ε0εrA0(1πθ)=C0C0πθ
    角位移型的电容相对变化:
    Δ C C = 1 − θ π \frac{ΔC}{C}=1-\frac{θ}{π} CΔC=1πθ

优点是输入与输出之间呈线性关系,但灵敏度较低,所以适宜于测量较大的直线位移和角位移

变介质型电容式传感器

变介质型电容式传感器的电极板的位置都是固定不变的,两极板之间的介质或介质参数会发生改变

在这里插入图片描述

  • L 0 L_0 L0 b 0 b_0 b0 —— 极板的长度和宽度
  • L L L —— 第二种介质进入极板间的长度

C = C 1 + C 2 = ε 0 b 0 ε r 1 ( L 0 − L ) + ε r 2 L d 0 ↓ Δ C C 0 = C − C 0 C 0 = ( ε r 2 − 1 ) L L 0 C=C_1+C_2=ε_0b_0\frac{ε_{r1}(L_0-L)+ε_{r2}L}{d_0}\\ \downarrow\\ \frac{ΔC}{C_0}=\frac{C-C_0}{C_0}=\frac{(ε_{r2}-1)L}{L_0} C=C1+C2=ε0b0d0εr1(L0L)+εr2LC0ΔC=C0CC0=L0(εr21)L

电容量的相对变化与电介质的移动量 L L L 成线性关系

在这里插入图片描述

介质真空空气聚乙烯硅油金刚石氧化铝云母TiO2
ε1≈12.262.75.54.5~8.46~8.514~110

在这里插入图片描述


【应用——液位高度检测】

在这里插入图片描述

电容增量与被测液位的高度成线性关系

电容式传感器等效电路

在这里插入图片描述

  • L L L :引线电缆电感和电容式传感器本身的电感
  • R s R_s Rs :高湿、高温、高频激励工作时串联损耗电阻,由引线电阻、极板电阻和金属支架电阻组成
  • C 0 C_0 C0 :传感器本身的电容
  • C p C_p Cp :引线电缆、所接测量电路及极板与外界所形成的总寄生电容
  • R g R_g Rg :极间等效漏电阻,包含极板间的漏电损耗和介质损耗、极板与外界间的漏电损耗和介质损耗

以上参量对电容传感器的影响随着工作频率的变化而不同

低频等效电路

在低频时传感器电容的阻抗非常大,引线的电感和电阻的影响可忽略

传感器的低频等效电路如下:

在这里插入图片描述

等效电容 C = C 0 + C p C=C_0+C_p C=C0+Cp

高频等效电路

在高频时传感器电容的阻抗变小,引线的电感和电阻的影响不可忽略,漏电的影响可忽略

在这里插入图片描述

等效电容 C = C 0 + C p C=C_0+C_p C=C0+Cp

电容式传感器的测量电路

转换电路需要将传感器测量输出的电容的变化转换成电压、电流等参量的变化

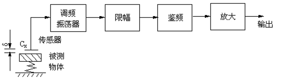
调频测量电路

将电容接入振荡器的谐振回路,当电容值发生变化的时候谐振频率 f = 1 / 2 π L C f=1/2π\sqrt{LC} f=1/2πLC 发生改变,经过限幅、鉴频和放大后变成电压输出

在这里插入图片描述

总电容 C = C 1 + C 2 + C x C=C_1+C_2+C_x C=C1+C2+Cx
C 1 C_1 C1 :振荡回路固有电容; C 2 C_2 C2 :传感器引线分布电容; C x = C 0 + Δ C C_x=C_0+ΔC Cx=C0+ΔC :传感器的电容
f 0 = 1 2 π L ( C 1 + C 2 + C x ) f 0 ′ = 1 2 π L ( C 1 + C 2 + C x ± Δ C ) = f 0 ∓ Δ f f_0=\frac{1}{2π\sqrt{L(C_1+C_2+C_x)}}\\ f_0'=\frac{1}{2π\sqrt{L(C_1+C_2+C_x±ΔC)}}=f_0∓Δf f0=2πL(C1+C2+Cx) 1f0=2πL(C1+C2+Cx±ΔC) 1=f0Δf

运算放大式测量电路

运算放大器的放大倍数很大,输入阻抗 Z i Z_i Zi 很高,输出电阻小,所以运算放大器作为电容式传感器的测量电路是比较理想的

在这里插入图片描述

U 0 ˙ = − C 0 C x U i ˙ = − d ⋅ C 0 ε ⋅ A U i ˙ \dot{U_0}=-\frac{C_0}{C_x}\dot{U_i}=-\frac{d·C_0}{ε·A}\dot{U_i} U0˙=CxC0Ui˙=εAdC0Ui˙
运算放大器的输出电压与极板间距离 d d d 成线性关系运算放大器式电路解决了单个变极板间距离式电容传感器的非线性问题

二极管双T型交流电桥

脉冲型电路的基本原理是:利用电容变化的时候改变充放电回路的时间常数来进行信号调理与输出

在这里插入图片描述

从图中右上图可知,电路电源 u u u 是交流矩形脉冲信号,振幅为 ± E ±E ±E,那么对于整个电路的分析就可以拆分为交流电正半周和负半周来分析:

  • 正半周 V D 1 VD_1 VD1 导通, V D 2 VD_2 VD2 截止, C 1 C_1 C1 充电

    负载上电流 : I L = I 1 ( 电源 ) + I 2 ( 放电 ) I_L = I_1(电源) + I_2(放电) IL=I1(电源)+I2(放电)

  • 负半周 V D 1 VD_1 VD1 截止, V D 2 VD_2 VD2 导通, C 2 C_2 C2 充电

    负载上电流 : I L ′ = I 1 ′ ( 放电 ) + I 2 ′ ( 电源 ) I_L' = I_1'(放电) + I_2'(电源) IL=I1(放电)+I2(电源)

【整体分析】

  • 传感器无输入时, C 1 = C 2 C_1=C_2 C1=C2 I R L = 0 I_{R_L}=0 IRL=0
  • 传感器有输入时, C 1 ≠ C 2 C_1≠C_2 C1=C2 I R L ≠ 0 I_{R_L}≠0 IRL=0

在负载和电源确定的情况下,输出电压只与电容的差值有关
U 0 ≈ M U f ( C 1 − C 2 ) U_0≈MUf(C_1-C_2) U0MUf(C1C2)

差动脉冲调宽电路🚩

在这里插入图片描述

  • 双稳态触发器初始输出 Q Q Q 为高电平, Q ‾ \overline{Q} Q 为低电平
  • Q Q Q 输出的高电平通过电阻 R 1 R_1 R1 对电容 C 1 C_1 C1 充电
  • C 1 C_1 C1 电压 U 1 U_1 U1 通过充电上升
  • U 1 U_1 U1 > 参考电压 U r U_r Ur 时,比较器 A 1 A_1 A1 输出翻转
  • 触发双稳态触发器状态改变: Q Q Q 为低电平, Q ‾ \overline{Q} Q 为高电平
  • Q ‾ \overline{Q} Q 输出的高电平通过电阻 R 2 R_2 R2 对电容 C 2 C_2 C2 充电,此时 C 1 C_1 C1 开始放电
  • C 2 C_2 C2 的电压 > 参考电压 U r U_r Ur 时,比较器再次触发翻转
  • 双稳态触发器恢复初始状态,完成一个周期

电容差值与输出的关系

  • 平衡状态 C 1 = C 2 C_1=C_2 C1=C2
    • 两个电容的充放电时间完全相同( T 1 = T 2 T_1 = T_2 T1=T2
    • 输出 PWM 波的占空比为 50%
    • 经低通滤波后的平均输出电压 U 0 = 0 U_0 = 0 U0=0
  • 不平衡状态 C 1 ≠ C 2 C_1≠C_2 C1=C2
    • 电容值较大的电容需要更长的充电时间
    • C 1 > C 2 C_1>C_2 C1>C2 ,则 T 1 > T 2 T_1 > T_2 T1>T2
    • 输出 PWM 波的占空比偏离 50%

在这里插入图片描述

U 0 = U A − U B = T 1 − T 2 T 1 + T 2 U 1 且    T = R C ( R 1 = R 2 ) ↓ U 0 = C 1 − C 2 C 1 + C 2 U 1 U_0=U_A-U_B=\frac{T_1-T_2}{T_1+T_2}U_1\\ 且~~~T=RC~~~(R_1=R_2)\\ \downarrow\\ U_0=\frac{C_1-C_2}{C_1+C_2}U_1 U0=UAUB=T1+T2T1T2U1   T=RC   (R1=R2)U0=C1+C2C1C2U1
输出电压与两个传感器电容的差值成正比

特性:差动脉冲调宽电路能适用于任何差动式电容式传感器,并具有理论上的线性特性

http://www.dtcms.com/a/504283.html

相关文章:

  • 网络授时与授时概念解析
  • 设计师投稿网站自媒体平台大全
  • 计算机网站怎么做wordpress 软件价格
  • Linux中I2C常见问题二
  • 做泰迪狗网站的意义下载全网搜
  • linux 5.10 移植kfence调试踩内存纪要
  • 网站游戏网站建设动漫设计与制作主要学什么
  • [嵌入式系统-146]:五次工业革命对应的机器人形态的演进、主要功能的演进以及操作系统的演进
  • 网站开发工程师前景分析网站推广经验杂谈
  • 做网站行业统称叫什么行业那些网站可以做0首付分期手机号
  • 百度网址大全 官网首页seoul是什么国家
  • 山西忻州市忻府区怎么把做的网站优化到百度
  • Shell脚本入门:从基础到实战
  • 【Linux】深入理解线程同步与互斥
  • 山东青岛网站建设公司排名网站空白页黑链
  • C++学习之变量、常量、关键字、标识符命名规则、数据类型
  • BMS电池管理系统学习笔记_SOC算法
  • 浅谈信创数据库改造重难点
  • 建设银行唐山分行网站上海专业网站建设服务
  • 算法沉淀第七天(AtCoder Beginner Contest 428 和 小训练赛)
  • 温州做网站定制车载互联系统网站建设
  • 迅当网络深圳外贸网站建设竞价网络推广
  • 【GESP】C++四级真题 luogu-B4006 [GESP202406 四级] 宝箱
  • 公司做网站找谁公司做网站找谁网站信息评估抽查
  • wordpress网站添加密码访问营销微网站建设公司
  • 吴恩达新课程:Agentic AI(笔记2)
  • 用dw怎么做网站留言板重庆重庆网站建设
  • 家具网站开发目的wordpress页脚太高
  • 西南交通建设集团股份有限公司网站带分期功能的网站建设
  • 姚期智京都奖( 2021)演讲:做研究最好的方法是提出深刻、大胆和关键性的问题