当前位置: 首页 > news >正文

STM32与W25Q64 SPI通信全解析

目录

1.cubemx可配置选项的含义

2.HAL库中常用的SPI函数介绍

1.SPI发送函数:

2.SPI接收函数:

3.SPI接收回调函数

3.W25Q64存储器芯片

3.1 W25Q64简介及其工作原理

3.2 Flash操作注意事项

3.2.1 写入操作

3.2.2 读取操作

4.代码实现

4.1 软件模拟SPI(标准库)

4.2 基于SPI外设实现硬件SPI


1.cubemx可配置选项的含义

  • 有主机模式全双工/半双工

  • 从机模式全双工/半双工

  • 只接收主机模式/只接收从机模式

  • 只发送主机模式

因为我们是和W25Q128V芯片闪存芯片进行通信,所以设置为主机全双工;(模式选择要看具体情况)

STM32有硬件的NSS引脚,可以选择使能(具体引脚看数据手册)

也可以用 PA0、PB5、PC13 等任意 GPIO 作为片选,只要在初始化时将其配置为推挽输出,通过 GPIO_SetBits()GPIO_ResetBits() 控制电平即可。

SPI配置中设置数据长度为8bit,MSB先输出分频为4分频,则波特率为120KBits/s。其他为默认设置。

Motorla格式,CPOL设置为Low,CPHA设置为第一个边沿。不开启CRC检验,NSS为软件控制。

cubemx生产的初始化函数:

static void MX_SPI1_Init(void)
{hspi1.Instance = SPI1;hspi1.Init.Mode = SPI_MODE_MASTER;                //主机模式hspi1.Init.Direction = SPI_DIRECTION_2LINES;    //全双工hspi1.Init.DataSize = SPI_DATASIZE_8BIT;        //数据位为8位hspi1.Init.CLKPolarity = SPI_POLARITY_LOW;        //CPOL=0hspi1.Init.CLKPhase = SPI_PHASE_1EDGE;            //CPHA为数据线的第一个变化沿hspi1.Init.NSS = SPI_NSS_SOFT;                    //软件控制NSShspi1.Init.BaudRatePrescaler = SPI_BAUDRATEPRESCALER_4;//4分频,32M/4=16MHzhspi1.Init.FirstBit = SPI_FIRSTBIT_MSB;            //最高位先发送hspi1.Init.TIMode = SPI_TIMODE_DISABLE;            //TIMODE模式关闭hspi1.Init.CRCCalculation = SPI_CRCCALCULATION_DISABLE;//CRC关闭hspi1.Init.CRCPolynomial = 10;                    //默认值,无效if (HAL_SPI_Init(&hspi1) != HAL_OK)                //初始化{_Error_Handler(__FILE__, __LINE__);}
}

2.HAL库中常用的SPI函数介绍

SPI收发有三种处理方式

  • 轮询 最基本的发送接收函数,就是正常的发送数据和接收数据

  • 中断: 在SPI发送或者接收完成的时候,会进入SPI回调函数,用户可以编写回调函数,实现设定功能

  • DMA DMA传输SPI数据

1.SPI发送函数:

HAL_SPI_Transmit(SPI_HandleTypeDef *hspi,uint8_t *pData,uint16_t Size, uint32_t Timeout);
  • *hspi: 选择SPI1/2,比如&hspi1,&hspi2

  • *pData : 需要发送的数据,可以为数组

  • Size: 发送数据的字节数,1 就是发送一个字节数据

  • Timeout: 超时时间,就是执行发送函数最长的时间,超过该时间自动退出发送函数

2.SPI接收函数:

HAL_SPI_Receive(SPI_HandleTypeDef *hspi,uint8_t *pData,uint16_t Size,uint32_t Timeout);
  • *hspi: 选择SPI1/2,比如&hspi1,&hspi2

  • *pData : 存放发送过来的数据的数组

  • Size: 接收数据的字节数,1 就是接收一个字节数据

  • Timeout: 超时时间,就是执行接收函数最长的时间,超过该时间自动退出接收函数

3.SPI接收回调函数

HAL_SPI_TransmitReceive_IT(&hspi1, TXbuf,RXbuf,CommSize);

当SPI上接收出现了 CommSize个字节的数据后,中断函数会调用SPI回调函数;

HAL_SPI_TxRxCpltCallback(SPI_HandleTypeDef *hspi)

用户可以重新定义回调函数,编写预定功能即可,在接收完成之后便会进入回调函数

3.W25Q64存储器芯片

3.1 W25Q64简介及其工作原理

W25Qxx系列是一种低成本、小型化、使用简单的非易失性存储器,常应用于数据存储、字库存储(汉字字库的点阵数据)、固件程序存储等场景。

存储介质:Nor Flash(闪存)(闪存分为Nor Flash和Nand Flash)

时钟频率:80MHz / 160MHz (双重SPI,Dual SPI,一个时钟周期发送/接收2位,这里的频率是等效的频率) / 320MHz (四重SPI,Quad SPI,4位并行)

存储容量(24位地址):

W25Q40: 4Mbit / 512KByte

W25Q80: 8Mbit / 1MByte

W25Q16: 16Mbit / 2MByte

W25Q32: 32Mbit / 4MByte

W25Q64: 64Mbit / 8MByte

W25Q128: 128Mbit / 16MByte

W25Q256: 256Mbit / 32MByte

VCC,GND:电源(2.7~3.6V)

CS(SS)

CLK(SCK)

DI(MOSI)

DO(MISO)

WP:写保护,低电平有效

HOLD:数据保持。在正常数据读写时,产生中断,想让SPI通信线去操作其他设备,且不想终止SPI总线的时序,这时就可以将HOLD引脚置低电平,这时芯片的状态和时序都将保持,并释放总线。之后完成操作后,将HOLD总线置回高电平,继续时序。

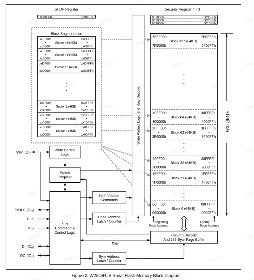
W25Q64的内部框图如下图所示。对于W25Q64的存储器组织,8MB划分为128个块(Block),每个块又划分为16个扇区(Sector);而总的8MB地址空间又可以划分为很多的页(Page),每一页有256个字节。按这样的规律划分存储地址,可以更高效地管理内存。

3.2 Flash操作注意事项

3.2.1 写入操作

  • 写入操作前,必须先进行写使能

  • 每个数据位只能由1改写为0,不能由0改写为1(成本和技术原因)

  • 写入数据前必须先擦除,擦除后,所有数据位变为1(Flash有专门的擦除命令,操作时仅需要发送擦除命令即可),在Flash中0FFH代表空白

  • 擦除必须按最小擦除单元(在本芯片中,最小的擦除单元是一个扇区Sector)进行

  • 连续写入多字节时,最多写入一页的数据,超过页尾位置的数据,会回到页首覆盖写入(页缓存器的限制),在写入时,要注意写入的地址范围不能跨越页尾

  • 写入操作结束后,芯片进入忙状态,不响应新的读写操作

3.2.2 读取操作

直接调用读取时序,无需使能,无需额外操作,没有页的限制,读取操作结束后不会进入忙状态,但不能在忙状态时读取

4.代码实现

4.1 软件模拟SPI(标准库)

  • MySPI.h

#ifndef __MYSPI_H_
#define __MYSPI_H_void MySPI_Init(void);
void MySPI_Start(void);
void MySPI_Stop(void);
uint8_t MySPI_SwapByte(uint8_t ByteSend);#endif
  • MySPI.c

#include "stm32f10x.h"                  // Device header#define         MySPI_MOSI_GPIO_CLK                        RCC_APB2Periph_GPIOA
#define         MySPI_MOSI_GPIO                            GPIOA
#define         MySPI_MOSI_GPIO_Pin                        GPIO_Pin_7#define         MySPI_MISO_GPIO_CLK                        RCC_APB2Periph_GPIOA
#define         MySPI_MISO_GPIO                            GPIOA
#define         MySPI_MISO_GPIO_Pin                        GPIO_Pin_6#define         MySPI_SCLK_GPIO_CLK                        RCC_APB2Periph_GPIOA
#define         MySPI_SCLK_GPIO                            GPIOA
#define         MySPI_SCLK_GPIO_Pin                        GPIO_Pin_5#define         MySPI_SS_GPIO_CLK                          RCC_APB2Periph_GPIOA
#define         MySPI_SS_GPIO                              GPIOA
#define         MySPI_SS_GPIO_Pin                          GPIO_Pin_4/*** @brief  改变SS电平* @param  BitValue        改变的目标值,0为低电平,1为高电平* @retval 无*/
void MySPI_W_SS(uint8_t BitValue)
{GPIO_WriteBit(MySPI_SS_GPIO, MySPI_SS_GPIO_Pin, (BitAction)BitValue);
}/*** @brief  改变SCLK电平* @param  BitValue        改变的目标值,0为低电平,1为高电平* @retval 无*/
void MySPI_W_SCLK(uint8_t BitValue)
{GPIO_WriteBit(MySPI_SS_GPIO, MySPI_SCLK_GPIO_Pin, (BitAction)BitValue);
}/*** @brief  改变MOSI电平* @param  BitValue        改变的目标值,0为低电平,1为高电平* @retval 无*/
void MySPI_W_MOSI(uint8_t BitValue)
{GPIO_WriteBit(MySPI_SS_GPIO, MySPI_MOSI_GPIO_Pin, (BitAction)BitValue);
}/*** @brief  读取MISO电平* @param  无* @retval 读取到的逻辑电平值*/
uint8_t MySPI_R_MISO(void)
{return GPIO_ReadInputDataBit(MySPI_MISO_GPIO, MySPI_MISO_GPIO_Pin);
}/*** @brief  软件SPI的GPIO初始化函数,更换GPIO时仅需要更改文件开始的宏定义即可* @param  无* @retval 无*/
void MySPI_Init(void)
{RCC_APB2PeriphClockCmd(MySPI_MOSI_GPIO_CLK, ENABLE);RCC_APB2PeriphClockCmd(MySPI_MISO_GPIO_CLK, ENABLE);RCC_APB2PeriphClockCmd(MySPI_SCLK_GPIO_CLK, ENABLE);RCC_APB2PeriphClockCmd(MySPI_SS_GPIO_CLK, ENABLE);GPIO_InitTypeDef GPIO_InitStructure;GPIO_InitStructure.GPIO_Mode = GPIO_Mode_IPU;           // 主机输入,上拉输入GPIO_InitStructure.GPIO_Pin = MySPI_MISO_GPIO_Pin;GPIO_InitStructure.GPIO_Speed = GPIO_Speed_50MHz;GPIO_Init(MySPI_MISO_GPIO, &GPIO_InitStructure);// 其余三个引脚均为推挽输出// MOSIGPIO_InitStructure.GPIO_Mode = GPIO_Mode_Out_PP;GPIO_InitStructure.GPIO_Pin = MySPI_MOSI_GPIO_Pin;GPIO_InitStructure.GPIO_Speed = GPIO_Speed_50MHz;GPIO_Init(MySPI_MOSI_GPIO, &GPIO_InitStructure);// SCLKGPIO_InitStructure.GPIO_Mode = GPIO_Mode_Out_PP;GPIO_InitStructure.GPIO_Pin = MySPI_SCLK_GPIO_Pin;GPIO_InitStructure.GPIO_Speed = GPIO_Speed_50MHz;GPIO_Init(MySPI_SCLK_GPIO, &GPIO_InitStructure);// SSGPIO_InitStructure.GPIO_Mode = GPIO_Mode_Out_PP;GPIO_InitStructure.GPIO_Pin = MySPI_SS_GPIO_Pin;GPIO_InitStructure.GPIO_Speed = GPIO_Speed_50MHz;GPIO_Init(MySPI_SS_GPIO, &GPIO_InitStructure);MySPI_W_SS(1);MySPI_W_SCLK(0);
}/*** @brief  生成SPI的起始信号* @param  无* @retval 无*/
void MySPI_Start(void)
{MySPI_W_SS(0);
}/*** @brief  生成SPI的结束信号* @param  无* @retval 无*/
void MySPI_Stop(void)
{MySPI_W_SS(1);
}/*** @brief  交换数据函数* @param  ByteSend        发送到从机的数据,长度为一个字节* @retval 接收到的数据,长度为一个字节*/
uint8_t MySPI_SwapByte(uint8_t ByteSend)
{uint8_t i, ByteReceive = 0x00;for (i = 0; i < 8; i ++){MySPI_W_MOSI(ByteSend & (0x80 >> i)); // 在下降沿,把数据移到MOSI总线上MySPI_W_SCLK(1);                     // 上升沿读取数据if (MySPI_R_MISO() == 1){ByteReceive |= (0x80 >> i);  // 掩码提取数据}MySPI_W_SCLK(0);                     // 下降沿}return ByteReceive;
}
  • W25Q64.h

#ifndef __W25Q64_H_
#define __W25Q64_H_void W25Q64_Init(void);
void W25Q64_ReadID(uint8_t *MID, uint16_t *DID);void W25Q64_PageProgram(uint32_t Address, uint8_t *DataArray, uint16_t Count);
void W25Q64_SectorErase(uint32_t Address);
void W25Q64_ReadData(uint32_t Address, uint8_t *DataArray, uint32_t Count);#endif
  • W25Q64_Ins.h

#ifndef __W25Q64_INS_H
#define __W25Q64_INS_H#define W25Q64_WRITE_ENABLE                                          0x06
#define W25Q64_WRITE_DISABLE                                         0x04
#define W25Q64_READ_STATUS_REGISTER_1                                0x05
#define W25Q64_READ_STATUS_REGISTER_2                                0x35
#define W25Q64_WRITE_STATUS_REGISTER                                 0x01
#define W25Q64_PAGE_PROGRAM                                          0x02
#define W25Q64_QUAD_PAGE_PROGRAM                                     0x32
#define W25Q64_BLOCK_ERASE_64KB                                      0xD8
#define W25Q64_BLOCK_ERASE_32KB                                      0x52
#define W25Q64_SECTOR_ERASE_4KB                                      0x20
#define W25Q64_CHIP_ERASE                                            0xC7
#define W25Q64_ERASE_SUSPEND                                         0x75
#define W25Q64_ERASE_RESUME                                          0x7A
#define W25Q64_POWER_DOWN                                            0xB9
#define W25Q64_HIGH_PERFORMANCE_MODE                                 0xA3
#define W25Q64_CONTINUOUS_READ_MODE_RESET                            0xFF
#define W25Q64_RELEASE_POWER_DOWN_HPM_DEVICE_ID                      0xAB
#define W25Q64_MANUFACTURER_DEVICE_ID                                0x90
#define W25Q64_READ_UNIQUE_ID                                        0x4B
#define W25Q64_JEDEC_ID                                              0x9F
#define W25Q64_READ_DATA                                             0x03
#define W25Q64_FAST_READ                                             0x0B
#define W25Q64_FAST_READ_DUAL_OUTPUT                                 0x3B
#define W25Q64_FAST_READ_DUAL_IO                                     0xBB
#define W25Q64_FAST_READ_QUAD_OUTPUT                                 0x6B
#define W25Q64_FAST_READ_QUAD_IO                                     0xEB
#define W25Q64_OCTAL_WORD_READ_QUAD_IO                               0xE3#define W25Q64_DUMMY_BYTE                                            0xFF#endif
  • W25Q64.c

#include "stm32f10x.h"                  // Device header
#include "MySPI.h"
#include "W25Q64_Ins.h"/*** @brief  芯片读写初始化函数* @param  无* @retval 无*/
void W25Q64_Init(void)
{MySPI_Init();
}/*** @brief  读取设备ID* @param  MID                指向厂商ID变量的指针,厂商ID为8位ID变量 * @param  DID                指向设备ID变量的指针,设备ID为16位变量* @retval 无*/
void W25Q64_ReadID(uint8_t *MID, uint16_t *DID)
{MySPI_Start();MySPI_SwapByte(W25Q64_JEDEC_ID);                // 读ID号指令*MID = MySPI_SwapByte(W25Q64_DUMMY_BYTE);        // 厂商ID,默认为0xEF*DID = MySPI_SwapByte(W25Q64_DUMMY_BYTE);        // 设备ID,表示存储类型,默认为0x40*DID <<= 8;*DID |= MySPI_SwapByte(W25Q64_DUMMY_BYTE);        // 设备ID,表示容量,默认为0x17MySPI_Stop();
}/*** @brief  发送写使能命令* @param  无* @retval 无*/
void W25Q64_WriteEnable(void)
{MySPI_Start();MySPI_SwapByte(W25Q64_WRITE_ENABLE);MySPI_Stop();
}/*** @brief  带超时的等待忙状态函数* @param  无* @retval 无*/
void W25Q64_WaitBusyWithTimeout(void)
{uint32_t Timeout = 100000;MySPI_Start();MySPI_SwapByte(W25Q64_READ_STATUS_REGISTER_1);while ((MySPI_SwapByte(W25Q64_DUMMY_BYTE) & 0x01) == 1)        // 利用连续读出状态寄存器,实现等待Busy的功能{Timeout --;if (Timeout == 0){/* 可以在这里添加超时错误函数 */break;}}MySPI_Stop();
}/*** @brief  页编程(写入)函数* @param  Address                写入目标的24位首地址,连续写入时地址指针自动增1* @param  DataArray        写入数组的地址指针* @param  Count                写入数据的长度* @retval 无        */
void W25Q64_PageProgram(uint32_t Address, uint8_t *DataArray, uint16_t Count)
{uint16_t i;W25Q64_WriteEnable();                // 时序结束后W25Q64会自动写失能MySPI_Start();MySPI_SwapByte(W25Q64_PAGE_PROGRAM);MySPI_SwapByte(Address >> 16);MySPI_SwapByte(Address >> 8);                // 自动舍弃高位MySPI_SwapByte(Address);                        // 自动舍弃高位for (i = 0; i < Count; i ++){MySPI_SwapByte(DataArray[i]);}MySPI_Stop();W25Q64_WaitBusyWithTimeout();
}/*** @brief  页擦除函数,在执行写入操作前要进行擦除* @param  Address                擦除页的首地址* @retval 无*/
void W25Q64_SectorErase(uint32_t Address)
{W25Q64_WriteEnable();                // 时序结束后W25Q64会自动写失能MySPI_Start();MySPI_SwapByte(W25Q64_SECTOR_ERASE_4KB);MySPI_SwapByte(Address >> 16);MySPI_SwapByte(Address >> 8);                // 自动舍弃高位MySPI_SwapByte(Address);                        // 自动舍弃高位MySPI_Stop();W25Q64_WaitBusyWithTimeout();                // 事后等待,优点是函数之外存储器一定不忙,缺点是会牺牲一点代码执行效率
}/*** @brief  读取数据函数* @param  Address                读取目标的24位首地址,连续写入时地址指针自动增1* @param  DataArray        存放数据的数组的地址指针* @param  Count                读取数据的长度* @retval 无        */
void W25Q64_ReadData(uint32_t Address, uint8_t *DataArray, uint32_t Count)
{uint32_t i;MySPI_Start();MySPI_SwapByte(W25Q64_READ_DATA);MySPI_SwapByte(Address >> 16);MySPI_SwapByte(Address >> 8);                // 自动舍弃高位MySPI_SwapByte(Address);                        // 自动舍弃高位for (i = 0; i < Count; i ++){DataArray[i] = MySPI_SwapByte(W25Q64_DUMMY_BYTE);}MySPI_Stop();
}
  • main.c

#include "stm32f10x.h"                  // Device header
#include "OLED.h"
#include "W25Q64.h"uint8_t MID;
uint16_t DID;uint8_t ArrayWrite[] = {0x55, 0x66, 0x77, 0x88};
uint8_t ArrayRead[4] = {0};int main()
{OLED_Init();W25Q64_Init();W25Q64_ReadID(&MID, &DID);OLED_ShowString(1, 1, "MID:   DID:");OLED_ShowString(2, 1, "W:");OLED_ShowString(3, 1, "R:");OLED_ShowHexNum(1, 5, MID, 2);OLED_ShowHexNum(1, 12, DID, 4);W25Q64_SectorErase(0x000000);                // 擦除扇区的起始地址W25Q64_PageProgram(0x000000, ArrayWrite, 4);        // 写入数据W25Q64_ReadData(0x000000, ArrayRead, 4);                // 读取数据OLED_ShowHexNum(2, 3, ArrayWrite[0], 2);OLED_ShowHexNum(2, 6, ArrayWrite[1], 2);OLED_ShowHexNum(2, 9, ArrayWrite[2], 2);OLED_ShowHexNum(2, 12, ArrayWrite[3], 2);OLED_ShowHexNum(3, 3, ArrayRead[0], 2);OLED_ShowHexNum(3, 6, ArrayRead[1], 2);OLED_ShowHexNum(3, 9, ArrayRead[2], 2);OLED_ShowHexNum(3, 12, ArrayRead[3], 2);while(1){}
}

4.2 基于SPI外设实现硬件SPI

  在硬件中,任然采用分层管理的思想,但是这里我们采用非连续传输的时序,只需要在软件SPI的基础上更改MySPI.c中底层通信协议的代码即可。

  • MySPI.c

#include "stm32f10x.h"                  // Device header#define         MySPI_SS_GPIO_CLK                        RCC_APB2Periph_GPIOA
#define         MySPI_SS_GPIO                            GPIOA
#define         MySPI_SS_GPIO_Pin                        GPIO_Pin_4/*** @brief  GPIO改变SS电平* @param  BitValue        改变的目标值,0为低电平,1为高电平* @retval 无*/
void MySPI_W_SS(uint8_t BitValue)
{GPIO_WriteBit(MySPI_SS_GPIO, MySPI_SS_GPIO_Pin, (BitAction)BitValue);
}/*** @brief  硬件SPI的初始化函数* @param  无* @retval 无*/
void MySPI_Init(void)
{RCC_APB2PeriphClockCmd(MySPI_SS_GPIO_CLK, ENABLE);RCC_APB2PeriphClockCmd(RCC_APB2Periph_SPI1, ENABLE);GPIO_InitTypeDef GPIO_InitStructure;GPIO_InitStructure.GPIO_Mode = GPIO_Mode_Out_PP;GPIO_InitStructure.GPIO_Pin = MySPI_SS_GPIO_Pin;GPIO_InitStructure.GPIO_Speed = GPIO_Speed_50MHz;GPIO_Init(MySPI_SS_GPIO, &GPIO_InitStructure);GPIO_InitStructure.GPIO_Mode = GPIO_Mode_AF_PP;GPIO_InitStructure.GPIO_Pin = GPIO_Pin_5 | GPIO_Pin_7;        // SPI1的SCK和MOSIGPIO_InitStructure.GPIO_Speed = GPIO_Speed_50MHz;GPIO_Init(GPIOA, &GPIO_InitStructure);GPIO_InitStructure.GPIO_Mode = GPIO_Mode_IPU;GPIO_InitStructure.GPIO_Pin = GPIO_Pin_6;                                // SPI1的MISOGPIO_InitStructure.GPIO_Speed = GPIO_Speed_50MHz;GPIO_Init(GPIOA, &GPIO_InitStructure);SPI_InitTypeDef SPI_InitStructure;SPI_InitStructure.SPI_BaudRatePrescaler = SPI_BaudRatePrescaler_128;    // f_SCLK = 72MHz / 128SPI_InitStructure.SPI_CPHA = SPI_CPHA_1Edge;                // SCLK的第一个边沿采样(移入)SPI_InitStructure.SPI_CPOL = SPI_CPOL_Low;                        // SCLK的极性选择SPI_InitStructure.SPI_CRCPolynomial = 7;                        // CRC校验的默认值SPI_InitStructure.SPI_DataSize = SPI_DataSize_8b;        // 8位数据帧SPI_InitStructure.SPI_Direction = SPI_Direction_2Lines_FullDuplex;     // 双路全双工SPI_InitStructure.SPI_FirstBit = SPI_FirstBit_MSB;        // 高位先行SPI_InitStructure.SPI_Mode = SPI_Mode_Master;                // 选择STM32为主机SPI_InitStructure.SPI_NSS = SPI_NSS_Soft;    // 选择NSS为软件配置还是硬件配置(这里不用)SPI_Init(SPI1, &SPI_InitStructure);SPI_Cmd(SPI1, ENABLE);MySPI_W_SS(1);
}/*** @brief  生成SPI的起始信号* @param  无* @retval 无*/
void MySPI_Start(void)
{MySPI_W_SS(0);
}/*** @brief  生成SPI的结束信号* @param  无* @retval 无*/
void MySPI_Stop(void)
{MySPI_W_SS(1);
}/*** @brief  硬件交换数据函数* @param  ByteSend        发送到从机的数据,长度为一个字节* @retval 接收到的数据,长度为一个字节*/
uint8_t MySPI_SwapByte(uint8_t ByteSend)
{while (SPI_I2S_GetFlagStatus(SPI1, SPI_I2S_FLAG_TXE) != SET);      // 等待TxE为1SPI_I2S_SendData(SPI1, ByteSend);while (SPI_I2S_GetFlagStatus(SPI1, SPI_I2S_FLAG_RXNE) != SET); // 发送完成即接收完成,等待RxNE为1return SPI_I2S_ReceiveData(SPI1);
}

http://www.dtcms.com/a/482242.html

相关文章:

  • 创办个人网站淘客怎样做网站
  • 网站流量用完了湘潭网络公司
  • Cogent DataHub vs Kepware,两大工业数据中间件的深度对比分析
  • ElasticSearch沙盒绕过漏洞复现:原理详解+环境搭建+渗透实践(CVE-2015-1427)
  • 学习笔记《区块链技术与应用》ETH 第三天 GHOST协议
  • 分辨海外IP是否为住宅IP的方法
  • 处理文本编辑器存的json格式报错问题,对编辑器存的字段进行转换处理,再通过json返回
  • 电子电气架构 --- 智能化浪潮下汽车软件架构的革新与生态重构
  • 【春秋云镜】CVE-2024-9047 Wordpress File Upload 插件 文件遍历漏洞
  • yahoo怎么提交网站下载拼多多app免费下载
  • php网站怎么注入网业协同是什么意思
  • 天机学堂day10领取优惠券接口编写mapper层sql语句时无法解析表的解决办法(更加完整、详细图解)
  • 力扣Hot100--102.二叉树的层序遍历
  • 【Linux】udp网络程序
  • 网站首页地址 网站域名海外购物商城
  • 解码Linux文件IO之标准IO
  • React惰性初始化函数(Lazy Initializer)(首次渲染时执行一次,只执行一次,应对昂贵初始化逻辑)(传入一个函数、传入函数)
  • C++中的类
  • 网站上线 流程wordpress禁止加载谷歌字体
  • 阿里云是做网站的吗榆林公司做网站
  • 2018年10月江苏省自考《信息组织》试题
  • 跨域处理的核心是解决浏览器的“同源策略”限制,主流方案
  • Web 开发 30
  • 小迪web自用笔记62
  • Nginx 代理 WebSocket 失败排查全过程:从 426 到连接成功的完整复盘
  • multi-head attention 多头注意力实现细节
  • 第七章 完整的模型训练
  • 08-Vue3组合式API最佳实践指南
  • 山东网站建设网站做全世界的生意的网站
  • 【文献分享】通过基于大型语言模型嵌入的蛋白质的 k 均值聚类来探索同源性检测