基于Springboot + vue3实现的工商局商家管理系统
项目描述
本系统包含管理员、商家两个角色。
管理员角色:
-
用户管理:管理系统中所有用户的信息,包括添加、删除和修改用户。
-
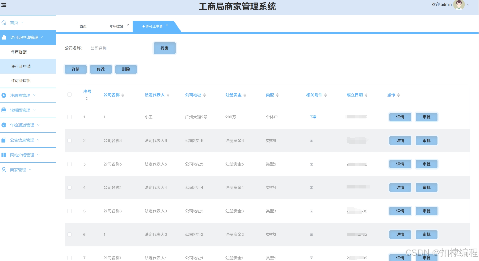
许可证申请管理:管理商家的许可证申请,包括搜索、修改或删除许可证申请。
-
许可证审批管理:管理许可证的审批,包括搜索、修改或删除许可证审批。
-
注册表管理:管理注册表,包括搜索、新增或者删除注册表。
-
年检通道管理:管理年检通道,包括搜索、新增或者删除年检通道。
-
公告信息管理:管理公告信息,包括搜索、新增或者删除公告信息。
-
网站介绍管理:管理网站介绍,包括搜索、新增或者删除网站介绍。
商家角色:
-
注册表查询:商家可以查询注册表,查看注册表名称、封面、附件、发布时间等信息,并进行下载、收藏等操作。
-
公告信息查询:商家可以查询公告信息,查看公告信息等。
-
个人信息管理:商家可以更新个人详细信息,还可以对修改密码、我的收藏管理、许可证申请管理进行详细操作。
-
许可证申请:商家可以申请许可证,填写公司名称、法定代表人、公司地址、注册资金、类型、相关附件、成立日期等信息。
运行环境
jdk1.8 + idea + mysql5.7 + tomcat8 + vscode
项目技术
springboot2 + vue3 + elementui + nodejs14
项目截图
1.主页







