当前位置: 首页 > news >正文

【c语言文件操作】

目录

1.文件

1.1文件名

1.2二进制文件和文本文件

2文件的打开和关闭

2.1流和标准流

>>>流

>>>标准流

2.2文件指针

2.3文件的打开和关闭

3.文件的顺序读写

​编辑

3.1fputc和fgetc

3.2fputs和fgets

3.3fprintf和fscanf

3.4相似函数对比

​编辑

3.5fwrite和fread

4.文件的随机读写

4.1fseek

4.2ftell

4.3rewind

5. 文件读取结束的判定


 

前言!!!!

为什么要使用文件???--->>>持久保存数据

首次调用再次调用

由上图可知关于文件,我们写的程序的数据是存储在电脑内存中,当程序退出,内存回收,数据就会丢失了,等再次运行的时候,看不到上次程序的数据的,要想进行持久化的保存,可以使用件。

1.文件

磁盘(硬盘)上的文件是文件

在程序设计中,所谈的文件一般分为两种:程序文件,数据文件(从文件功能的角度来分类的)

程序文件-->包含源程序文件(后缀为.c),目标文件(windows环境后缀为.obj),可执行程序(windows环境后缀为.exe)。

数据文件-->内容不一定为程序,也可为程序运行时读写的数据,如程序运行需要从中读取数据文件或输出内容的文件

今天主要我们讨论的是数据文件。
在以前各章所处理数据的输入输出都是以终端为对象的,即从终端的键盘输入数据,
运行结果显示到显示器上。
其实有时候我们会把信息输出到磁盘上,当需要的时候再从磁盘上把数据读取到内存中使用,
这里处理的就是磁盘上文件。

1.1文件名

文件名包含3部分:文件路径+文件主干+文件后缀

例如:c:\code\test.txt

为了方便起见,文件标识常被称为文件名

1.2二进制文件和文本文件

数据以二进制数存储在文件里就是二进制文件,以ASCII码存储就是文本文件

下面给出一段代码能更直观的看到二者区别

下列代码将数组里面内容以二进制存储在文件中,若直接打开test.txt则会出现乱码的情况

我们需要将打开方式换成以二进制编辑器打开

更改打开方式

以二进制方式显示

2文件的打开和关闭

2.1流和标准流

>>>流

我们程序的数据需要输出到各种外部设备,也需要从外部设备获取数据,不同的外部设备的输入输出操作各不相同,为了方便程序员对各种设备进行方便的操作,我们抽象出了流的概念,我们可以把流想象成流淌着字符的河。

 

C程序针对文件、画面、键盘等的数据输入输出操作都是通过流操作的。
一般情况下,我们要想向流里写数据,或者从流中读取数据,都是要打开流,然后操作。

>>>标准流

那为什么我们从键盘输入数据,向屏幕上输出数据,并没有打开流呢?

那是因为C语言程序在启动的时候,默认打开了3个流:

stdin
标准输入流,在⼤多数的环境中从键盘输入,scanf函数就是从标准输入流中读取数据

stdout
标准输出流,大多数的环境中输出至显示器界面,printf函数就是将信息输出到标准输出流中。

stderr
标准错误流,大多数环境中输出到显示器界面。

这是默认打开了这三个流,我们使用scanf、printf等函数就可以直接进行输入输出操作的。
stdin、stdout、stderr 三个流的类型是: FILE* ,通常称为文件指针。
C语言中,就是通过 FILE* 的文件指针来维护流的各种操作的。

2.2文件指针

缓冲文件系统中,关键的概念是“文件类型指针”,简称“文件指针”

每个被使⽤的⽂件都在内存中开辟了⼀个相应的文件信息区,⽤来存放文件的相关信息
(如文件的名字,文件状态及文件当前的位置等)。这些信息是保存在⼀个结构体变量中的。
该结构体类型是由系统声明的,取名 FILE.

例如,VS2013 编译环境提供的 stdio.h 头文件中有以下的文件类型申明:

struct _iobuf {char *_ptr;int _cnt;char *_base;int _flag;int _file;int _charbuf;int _bufsiz;char *_tmpfname;};
typedef struct _iobuf FILE;

不同的C编译器的FILE类型包含的内容不完全相同,但是大同小异。

每当打开一个文件的时候,系统会根据文件的情况自动创建⼀个FILE结构的变量,
并填充其中的信息,使用者不必关心细节。
一般都是通过⼀个FILE的指针来维护这个FILE结构的变量,从而维护整个文件流的读写操作,这样使用起来更加方便。

下⾯我们可以创建⼀个FILE*的指针变量:

FILE* pf;//⽂件指针变量

定义pf是⼀个指向FILE类型数据的指针变量。可以使pf指向某个文件的文件信息区(是⼀个结构体变量)。通过该文件信息区中的信息就能够访问该文件。也就是说,通过文件指针变量能够间接找到与它关联的文件。

2.3文件的打开和关闭

关于文件的读写---->

要先打开⽂件的操作,在使用结束知乎关闭文件的操作。

在编写程序的时候,在打开文件的同时,都会返回⼀个FILE*的指针变量指向该文件,也相当于建立了指针和文件的关系。
ANSIC 规定使用 fopen 函数来打开文件, fclose 来关闭文件。

//打开文件——fopen
FILE * fopen ( const char * filename, const char * mode );
//关闭文件——fclose
int fclose ( FILE * stream );

其中的参数
filename是要操作的文件名,

mode表示文件的打开模式,

stream是要关闭文件的的文件指针

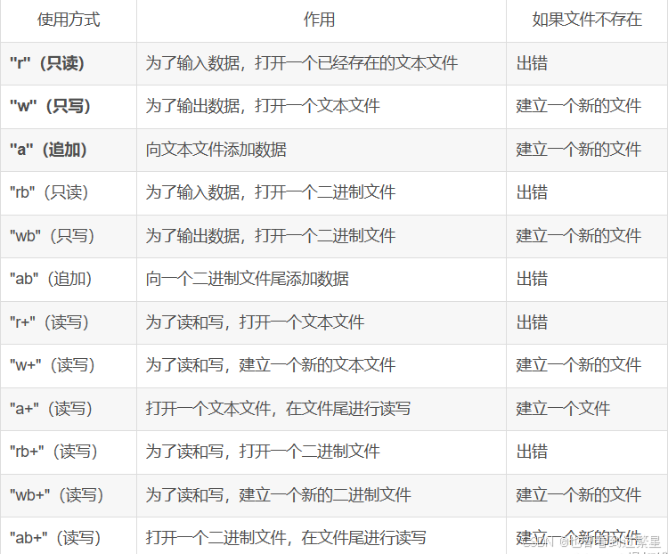
其中mode表示文件的打开模式,下面都是文件的打开模式:

示例

int main()
{FILE* pf = fopen("test.txt", "w");//以只写的方式打开文件(自动创建一个文件)(此为无test.txt文件下  使用w方式打开)//⽂件操作if (pFile!=NULL)//判断是否为空{fputs ("fopen example",pFile);//关闭⽂件fclose (pFile);pFile=NULL;//置空return 0;
}

3.文件的顺序读写

顺序读写函数介绍

拓展

3.1fputc和fgetc

fputc

>>>   字符输入函数  (把字符写进文件)

character:要写进的字符
steam:   指向文件的文件指针
其中
光标
文件中有光标进行读写操作的维护,写数据后光标就会向后移动。返回值
如果写操作成功的话,就返回写的字符。失败就返回EOF,就是-1。同时会把错误标记起来。fput('a',p);//写入一个字符

例如:将字符a写入

int main()
{FILE* pf = fopen("test1.txt", "w");//判if (pf == NULL){perror("fopen");return 1;}char ch = 'a';fputc(ch, pf);fclose(pf);pf = NULL;return 0;
}

fgetc

>>>字符输出(读取字符)

 

fgetc(stream);//读取字符stream:要读取文件的文件指针返回值
如果读取成功返回值读取成功的字符,ascll码值表示是int
如果读取失败或遇到文件末尾返回EOF就是-1,所以用int返回,兼容两种返回值的类型光标
文件中有光标进行读写操作的维护,读数据后光标就会向后移动。
test1.txt文件中---》abcdefg
int main()
{FILE* pf = fopen("test.txt", "r");if (pf == NULL){perror("fopen");return 1;}int ch = fgetc(pf);printf("%c\n", ch);//ach = fgetc(pf);printf("%c\n", ch);//bch = fgetc(pf);printf("%c\n", ch);//cfclose(pf);pf = NULL;return 0;
}

fgetc 一个一个读取字符,光标随着往后移动

3.2fputs和fgets

fputs

>>>字符串输入函数    (将字符串写到文件中)

fputs("abcd", pf);//写入字符串

例如:向test1.txt  写入abcd

int main()
{FILE* pf = fopen("test1.txt", "w");//判if (pf == NULL){perror("fopen");return 1;}fputs("abcd", pf);fclose(pf);pf = NULL;return 0;
}

fgets>>>字符串输出(读取字符串)

str>内存存放的地址

num>读取的长度(读取实际长度为len-1,末尾补零,若文件中字符串的长度不足,默认把字符串读完  末尾补'\0')。

例如:test1.txt文件中存放内容如下

int main()
{FILE* pf = fopen("test1.txt", "r");char ch[20];//判if (pf == NULL){perror("fopen");return 1;}fgets(ch, 10, pf);for (int i = 0; i < 10; i++){printf("%c ", ch[i]);}fclose(pf);pf = NULL;return 0;
}

 

3.3fprintf和fscanf

fprintf函数>>>用于数据指定格式写入文件时

用我们熟悉的printf对比一下

fprintf多了一个文件指针。
其实fprintf使用跟printf基本一样,只是多了一个文件指针而已

例:将结构体内容写入文件

struct S
{char name[20];int age;
};int main()
{struct S s = { "张三",20 };FILE* pf = fopen("teststruct.txt", "w");if (pf == NULL){perror("fopen");return 1;}fprintf(pf, "%s %d",s.name,s.age );fclose(pf);pf = NULL;return 0;
}

fscanf>>>用于读取

与scanf相比

就差了一个文件指针的参数
所以fscanf的使用也只需多加一个读取文件的文件指针即可。

例如:读取刚刚写入的结构体内容

 struct S
{char name[20];int age;
};int main()
{struct S s = { 0 };FILE* pf = fopen("teststruct.txt", "r");if (pf == NULL){perror("fopen");return 1;}fscanf(pf, "%s %d", &(s.name), &(s.age));printf("%s %d\n", s.name, s.age);//fclose(pf);pf = NULL;return 0;
}

3.4相似函数对比

关于上面的fprintf和fscanf以下要对比一下相似的函数

sprintf>>把格式化的数据转化成字符串的函数

struct S
{char name[20];
}
int main()
{FILE* pf = fopen("teststruct.txt", "w");if (pf == NULL){perror("fopen");return 1;}char a[30];struct S s = { "张三"};sprintf(a, "%s", s.name);printf("%s", a);fclose(pf);return 0;}

 

scanf:从标准输入流上读取格式化的数据

fscanf:从指定的输入流上读取格式化的数据

sscanf:在字符串中读取格式化的数据

printf:把数据以格式化的形式打印在标准输出流上

fprintf:把数据以格式化的形式打印在指定的输出流上

sprintf:把格式化的数据转化成字符串

3.5fwrite和fread

fwrite>>>把数据以二进制写入文件

 

参数
ptr:指向一个数组,数组存放要写入的数据
size:每个数据的大小
count:数据的个数
stream:写入文件的文件指针打开方式:"wb"打开
int main()
{FILE* pf = fopen("test.txt", "wb");if (pf == NULL){perror("fopen");return 1;}int arr[] = { 1,2,3,4 };fwrite(arr, 4, 4, pf);fclose(pf);return 0;
}

fread就是把数据以二进制形式读出来。

参数
ptr:指向数组,读取后的数据存放到数据中
size:读取数据的大小
count:读取数据的个数
strenm:读取文件的文件指针打开方式
"rb"打开
int main()
{FILE* pf = fopen("test.txt", "rb");if (pf == NULL){perror("fopen");return 1;}int arr[20] = { };int i = 0;while (fread(arr+i, 4, 1, pf)){printf("%d ", arr[i]);i++;}fclose(pf);return 0;
}

4.文件的随机读写

4.1fseek

根据文件指针的位置和偏移量来定位文件指针(文件内容的光标)

fseek函数:用于设置文件指针位置。

 参数:

stream:指向FILE类型的指针,表示要进行定位的文件流。

offset:long int类型的值,表示相对于origin的偏移量。

origin:用于指定偏移量的起始位置,

                   SEEK_SET(文件开头)、

                   SEEK_CUR(光标当前位置)

                   SEEK_END(文件末尾)。

返回值:0 表示成功,其他值表示失败。

文件中的字符串

从文件开头读取2个(开始为a)

4.2ftell

返回文件指针相对于起始位置的偏移量

int main ()
{FILE * pFile;long size;pf = fopen ("test.txt","rb");if (pFile==NULL) perror ("fopen");else{fseek (pf, 0, SEEK_END);size=ftell (pf);fclose (pf);printf ("Size of test.txt: %ld bytes.\n",size);}return 0;
}

4.3rewind

让文件指针的位置回到文件的起始位置

int main ()
{int n;FILE * pFile;char buffer [27];pFile = fopen ("myfile.txt","w+");for ( n='A' ; n<='Z' ; n++)fputc ( n, pFile);rewind (pFile);fread (buffer,1,26,pFile);fclose (pFile);buffer[26]='\0';printf(buffer);return 0;
}

5. 文件读取结束的判定

注:在文件读取过程中,不能⽤feof函数的返回值直接来判断文件的是否结束。
feof 的作用是:当文件读取结束的时候,判断是读取结束的原因是否是:遇到文件末尾结束。

文本文件
判断返回值是否为 EOF ( fgetc结束),或者 NULL ( fgets结束 )

#include<stdio.h>
#include<stdlib.h>
int main()
{int c; // 注意:int,⾮char,要求处理EOFFILE* fp = fopen("test.txt", "r");if(!fp) {perror("File opening failed");return EXIT_FAILURE;}//fgetc 当读取失败的时候或者遇到⽂件结束的时候,都会返回EOFwhile ((c = fgetc(fp)) != EOF) // 标准C I/O读取⽂件循环{ putchar(c);}//判断是什么原因结束的if (ferror(fp))puts("I/O error when reading");else if (feof(fp))puts("End of file reached successfully");fclose(fp);
}

二进制文件

⼆进制文件的读取结束判断,判断返回值是否小于实际要读的个数

#include <stdio.h>
enum { SIZE = 5 };
int main(void)
{double a[SIZE] = {1.,2.,3.,4.,5.};FILE *fp = fopen("test.bin", "wb"); // 必须⽤⼆进制模式fwrite(a, sizeof *a, SIZE, fp); // 写 double 的数组fclose(fp);double b[SIZE];fp = fopen("test.bin","rb");size_t ret_code = fread(b, sizeof *b, SIZE, fp); // 读 double 的数组if(ret_code == SIZE) {puts("Array read successfully, contents: ");for(int n = 0; n < SIZE; ++n) printf("%f ", b[n]);putchar('\n');} else { // error handlingif (feof(fp))printf("Error reading test.bin: unexpected end of file\n");else if (ferror(fp)) {perror("Error reading test.bin");}}fclose(fp);
}

 

http://www.dtcms.com/a/436129.html

相关文章:

  • SPI Flash基础知识点 (腾讯元宝版本)
  • 天津的网站建设成都网站建设 木木科技
  • 苏州浒关做网站哪里有网站推广公司
  • 怎么买域名自己做网站常州医院网站建设
  • 网站收录平台青岛优化网站多少钱
  • 做静态网站多少钱与恶魔做交易的网站
  • 哈德网站建设建设短视频网站
  • 做exo小说的网站互联网创业项目整合网站
  • 国外网站 模板外贸网站设计公司
  • rk3588移植部署pointnet
  • 网站制作 网站建设 杭州上海名企
  • 谁用fun域名做网站了襄樊网站制作公司
  • php学建网站摄影标志logo设计欣赏
  • 男的怎么做直播网站wordpress json接口
  • 服装生产工厂管理系统是什么?主要有哪几种核心功能?
  • 浙江省建筑诚信平台查询系统网站meta 优化建议
  • 免费做课设的网站一个商城网站多少钱
  • 开网站流程wordpress.备份
  • JDK1.8下载安装使用教程,图文教程(超详细)
  • 个人网站建设方法和过程聊城专业网站制作公司
  • 合肥网站建设方案id怎么自动导入wordpress
  • Matlab通过GUI实现点云的GICP配准
  • 数字化ERP“一图四清单”战略执行体系
  • 每日一练【约瑟夫环问题】
  • 公司网站推广计划书怎么做网络工程好就业吗
  • 找网站网站防止镜像
  • 监理网站网站ipv6改造怎么做 网页代码
  • 新公司如何做网站wordpress文本块表格
  • 无锡富通电力建设有限公司网站html个人主页制作
  • 重庆微信营销网站建设wordpress用户导入数据库表