XMSRC4392_VC1:4通道192KHz ASRC及768KHz SSRC音频采样率转换器产品介绍
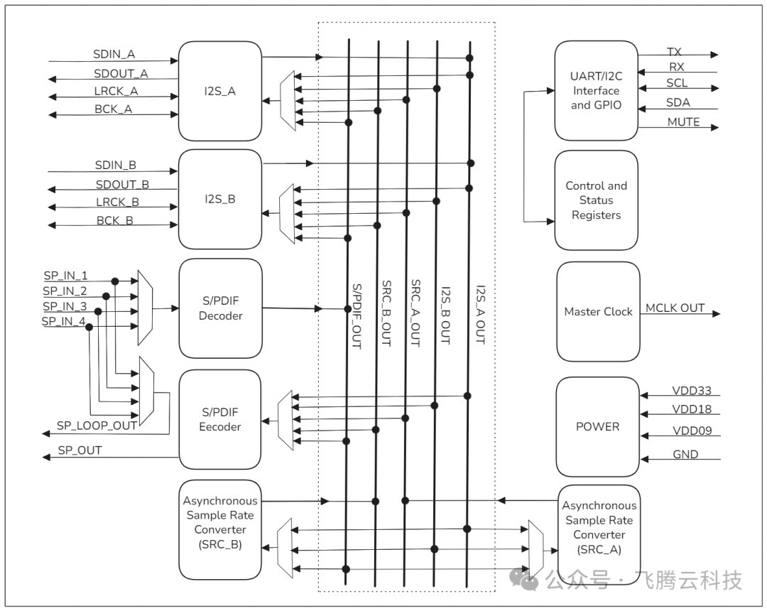
XMSRC4392是一款高性能四通道异步音频采样率转换器,采用XMOS高性能芯片,专为专业音频应用设计。相比SRC4392的两路SRC解决方案,本产品提供双倍的处理能力,同时在成本和性能方面实现了显著优化。
产品集成了两个独立的SRC模块(SRC_A和SRC_B),每个模块可处理两路音频信号,支持高达768KHz的超高采样率,为各种数字音频系统提供卓越的灵活性和高性能音频采样率转换。支持SSRC 44.1KHz-768KHz间采样率转换,ASRC 44.1KHz-192KHz间采样率转换,支持16bit/24bit/32bit音频数据处理。产品具备出色的音频性能指标,SSRC和ASRC的THD+N (@1kHz, 0dBFs)均小于等于-130dB,为音频设备制造商提供专业级的音频处理解决方案。


关键特性
四通道SRC音频采样率转换
双SRC模块架构(SRC_A + SRC_B),每个模块处理2路音频
可独立工作,总共可同时处理4通道音频采样率转换
超高采样率转换支持
SSRC支持44.1KHz-768KHz间采样率转换
ASRC支持44.1KHz-192KHz间采样率转换
支持16bit/24bit/32bit音频数据处理
高性能指标
SSRC:THD+N (@1kHz, 0dBFs) ≤ -130dB
ASRC:THD+N (@1kHz, 0dBFs) ≤ -130dB
多接口支持
4个S/PDIF多选一输入接口
2个S/PDFI输出接口
2个I2S主从接口
兼容AES3, IEC 60958, and EIAJ CP-1201标准
技术优势
相比同类产品,XMSRC4392具有以下显著优势:
4路SRC通道和2个独立SRC模块,提供2倍处理能力
SSRC最高支持768 KHz采样率,较216 KHz提升3.5倍
ASRC支持192 KHz采样率,保持相当性能水平
无需外部时钟参考,节省外部晶振成本
支持系统扩展,提供更灵活的应用方案
应用场景
专业录音棚
适用于多轨录音设备中进行高精度采样率转换,音频工作站中处理不同采样率的音频素材,调音台系统中实现音频信号格式统一。
广播电视
可用于广播设备中音频信号的实时处理,电视制作中不同来源音频的同步处理,直播系统中音频信号的优化转换。
数字音响
适合功放设备中音频信号的预处理,音频处理器中多通道信号转换,扬声器管理系统中信号优化。
汽车音响
可应用于车载娱乐系统中音频格式转换,高端音响中音质优化处理,降噪系统中信号处理。
消费电子
适用于高端音响设备中音频信号处理,家庭影院系统中多声道处理,专业音频接口中信号转换。
工业应用
可用于音频测试设备中信号标准化,音频分析仪器中数据处理,专业信号处理设备中格式转换。
