CICD实战(9) - 使用Arbess+GitLab实现Python项目自动化部署
Arbess 是一款开源免费的 CI/CD 工具,工具轻量、简洁,支持一键安装零配置,页面设计简洁明了。本文将详细介绍如何安装Arbess、GitLab,并创建配置流水线实现 Python 项目构建并主机部署。
1、GitLab 安装与配置
本章节将介绍如何使用CentOS9搭建Gitlab服务器,并将代码存放在Gitlab服务器,提供给Arbess克隆源码。
1.1 安装
- 安装基础依赖。
sudo yum update -y
sudo yum install -y curl policycoreutils-python-utils openssh-server perl
sudo systemctl enable --now sshd
- 获取Gitlab安装包。
curl -LO https://packages.gitlab.cn/repository/el/8/gitlab-jh-17.7.0-jh.0.el8.x86_64.rpm
- 安装Gitlab安装包。访问URL可以自己设置。
export EXTERNAL_URL="http://ip" && sudo rpm -ivh gitlab-jh-x.x.x.rpm
- 安装完成之后,使用
sudo gitlab-ctl status检查服务状态。 - 浏览器访问配置的http://ip,使用用户名root,密码 /etc/gitlab/initial_root_password 中获取,进行登录。
1.2 配置
gitlab安装完成之后,可以将代码推送到仓库中,Arbess克隆源码需要创建GitLab的个人令牌,用于Arbess访问Gitlab。进入用户设置→访问令牌,按照需求创建创建访问令牌。
创建个人令牌
令牌创建完毕,请妥善保存好您的令牌。
个人令牌
2、Arbess 安装与配置
2.1 安装
本文以CentOS操作系统为例。
- 下载,服务端安装包含Agent安装,CentOS安装包下载地址:Arbess下载,点击CentOS下载,下载完成后得到类似tiklab-arbess-x.x.x.rpm的文件。
- 安装,上传到服务器上,在文件同级目录执行以下命令安装。
rpm -ivh --replacefiles --nodeps tiklab-arbess-x.x.x.rpm
- 启动,系统默认安装路径为/opt目录,进入/opt/tiklab-arbess/bin目录下,执行./arbess start即可启动成功。
启动Arbess
使用 http://ip:9200 进行访问。使用初始用户名密码admin\123456登录,首次登录需要修改管理员密码。成功登录后展示Arbess首页。
Arbess首页
2.2 配置
Arbess流水线采用可视化设计,实现Python项目自动化部署,在流水线中可克隆Gitlab仓库代码,构建并进行多主机部署。创建流水线,进入流水线设计页面进行操作。
2.2.1 配置GitLab任务
- 配置GitLab服务集成
流水线配置GitLab源码任务之前,需要添加GitLab服务集成,在系统设置→集成与开放→服务集成页面添加相关服务。授权类型选择Gitlab,填写名称、AccessTocken(个人密钥,即文章1.2部分创建的个人访问令牌)。
添加源码集成
如需要添加自建的Gitlab,授权类型选择自建Gitlab,填写名称、服务地址、AccessTocken(个人密钥)。
添加源码集成
- 添加GitLab源码任务
服务集成添加完毕之后,进入流水线设计,点击新阶段→源码→GitLab。
添加GitLab源码
| 字段 | 描述 |
| 任务名称 | 任务名称清晰地标识项目或对象。 |
| Git版本 | Arbess所在服务器Git安装路径。 |
| GitLab授权信息 | 私人令牌,AccessTocken。 |
| 仓库 | 选择授权信息后点击仓库,程序会自动获取凭证权限下的仓库列表,管理者只需选择需要配置的仓库即可。 |
| 分支 | 选择代码的分支。填写需要拉取远程仓库具体的分支,不填默认为master分支,填写错误会导致任务执行失败。 |
2.2.2 配置Python构建任务
源码配置完毕后,配置构建任务,Arbess支持多种构建方式,例如添加Python构建,点击新阶段→构建→Python构建。
配置Python构建任务
| 字段 | 描述 |
| 任务名称 | 任务名称清晰地标识项目或对象。 |
| 项目地址 | 代码存放路径,默认为${DEFAULT_CODE_ADDRESS},即源码拉取存放路径,也可输入绝对路径。 |
| 执行命令 | 执行Python构建的命令。 |
2.2.3 配置主机部署任务
点击新阶段→部署→主机部署,输入部署信息,输入完成后,点击空白处进行保存。
配置主机部署任务
| 字段 | 描述 |
| 任务名称 | 任务名称清晰地标识项目或对象。默认主机部署。 |
| 部署方式 | 可选择结构化部署或者自定义命令部署。 |
| 主机地址 | 部署主机远程SSH认证凭证。 |
| 部署文件 | 需要部署的文件,可以写绝对路径,也可以写泛路径,泛路径需要配合部署文件规则来匹配到部署文件。 |
| 部署文件匹配规则 | 文件匹配规则,支持正则表达式。 |
| 部署位置 | 部署远程主机位置。 |
| 部署命令 | 文件部署命令。 |
3、运行流水线
- 运行流水线
多台主机部署完成后,点击右上角运行,验证流水线运行情况。
运行流水线
点击任务日志,可查看任务实时日志,点击对应任务,可查看任务相关日志。
查看运行日志
查看详细日志
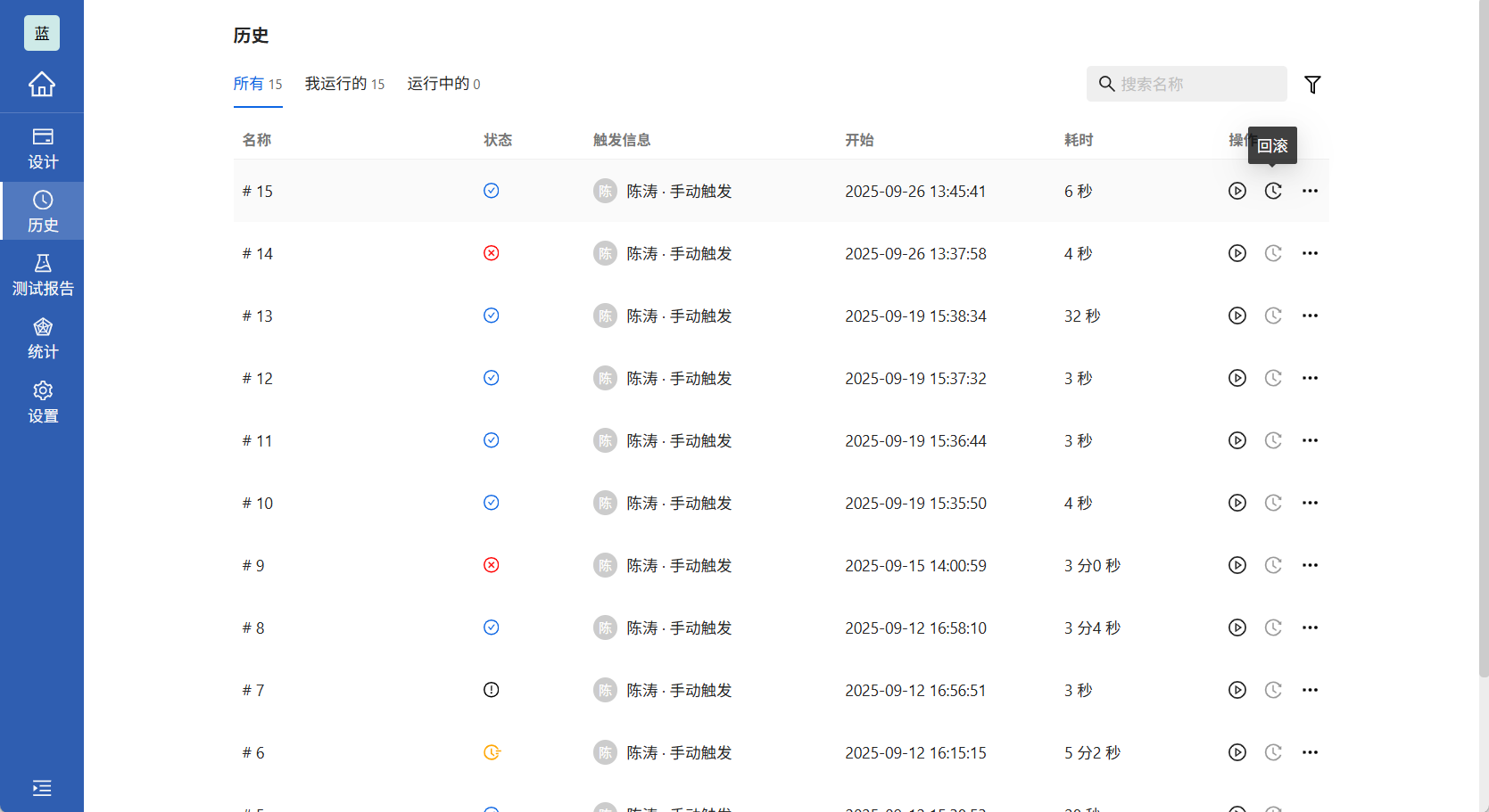
- 查看运行历史
可以在Arbess历史页面查看到流水线运行历史。点击运行历史序号,即可查看详细的运行日志。也可以在历史页面进行回滚。
运行历史
至此,用户可通过Arbess流水线克隆GitLab仓库Python源码,构建并进行主机部署。
