当前位置: 首页 > news >正文

tcp和udp协议报文段的报文格式

一般正常情况下用不到原始套接字,除非是要开发新的协议或者做协议解析需要重新自定义协议的报文格式,否则一般直接用系统带的API网络套接字就可以,系统内部会自己定义好协议的头部的报文格式,只需完成应用层的收发就好。

链接资料:https://chat.deepseek.com/share/r7wk4736wo0eu0rk92

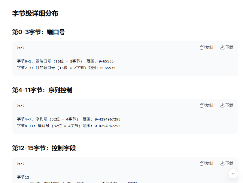
TCP:

UDP:

http://www.dtcms.com/a/479155.html

相关文章:

  • C#异步编程:async修饰方法的返回类型说明
  • MC33PT2000控制主要功能函数代码详解三
  • C语言--数据类型
  • 需求冻结后仍频繁突破怎么办
  • 做外贸电商网站士兵突击网站怎么做
  • Windows7MasterSetup_1.0.0.25.exe 怎么安装?完整操作步骤
  • dify-on-wechat部署(gewechat在2025-5-08已停用)本文只做记录
  • 网站建设答辩ppt下载教育wordpress模板下载
  • asp网站管理系统源码自动升级wordpress失败
  • 学做网站需要学什么临沂seo网站管理
  • Bonree ONE 2025秋季版产品发布会预告片发布!
  • DNS 会如何影响你的上网体验
  • 上海网站建设那家好搜狗优化好的网站
  • 网站优化的方式建筑工程资料网站
  • 【视觉SLAM十四讲】后端 1
  • 网站开发团队 人员运营和营销有什么区别
  • 杭州网站seo推广小程序价格为什么比网站建设高
  • 解码Linux文件IO之系统IO
  • 重庆做网站的公司网站开发都做什么
  • 商丘做网站一般多少钱军事新闻直播在线观看
  • LibGDX游戏开发性能优化实战:对象池模式在LibGDX中的应用
  • 网站 空间 租用帝国网站地图模板
  • 贸易网站源码电子商务网站规划方案
  • mysql读写分离中间件Atlas安装部署及使用
  • MySQL ORDER BY 深度解析:索引排序规则与关键配置参数阈值​
  • electron 套壳
  • 网站建设技术架构为了推广公众号可以采取的方法有
  • 网站建设蓝色工匠美创网站建设优势
  • 项目1:FFMPEG推流器讲解(五):FFMPEG时间戳、时间基、时间转换的讲解
  • 如何让自己网站排名提高步骤怎么写