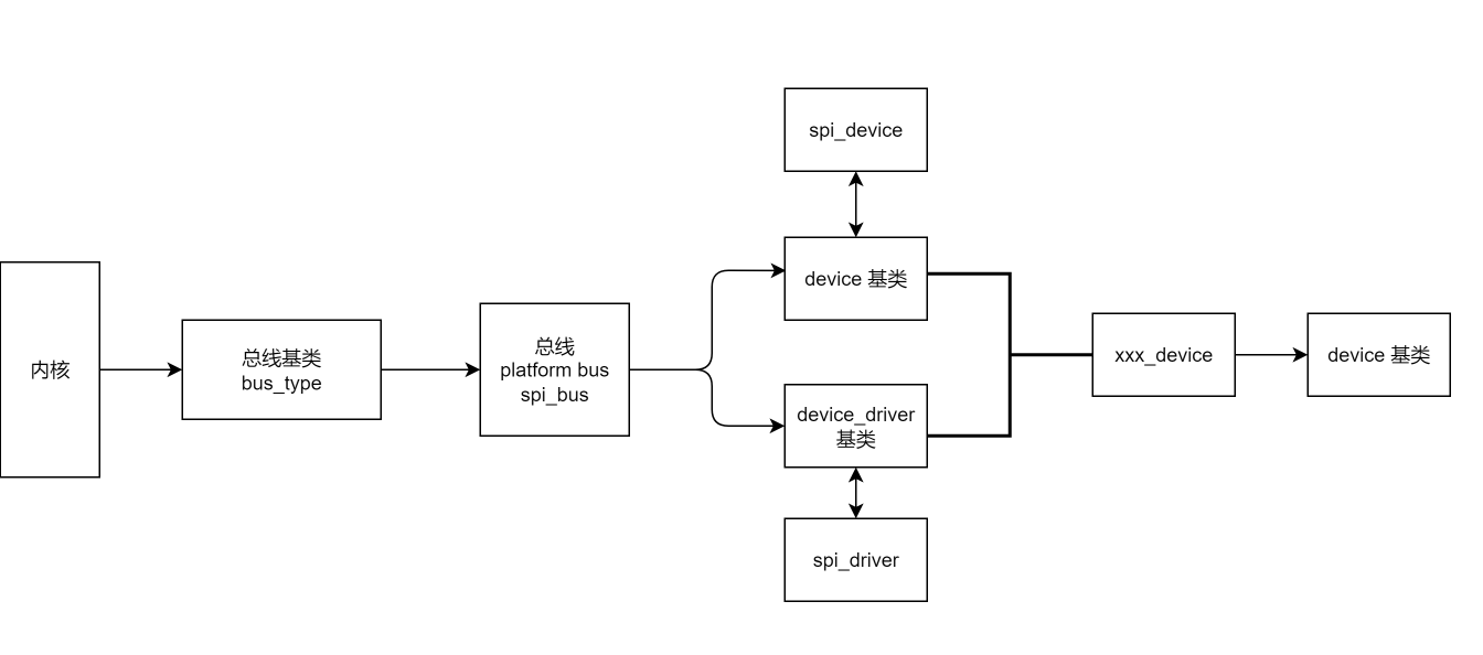
内核spi驱动流程图

1. module_init 与 module_exit 这两个是在模块加载和卸载时需要使用
流程1: module_init -> spi_register_driver
2. 驱动开发填充两个结构体 XXX_device xxx_driver(spi_driver)
3. 定义一个spi_driver,里面包含了device_driver 基类
1)在spi_register_driver时,匹配会去执行probe函数
 2)id_table 和driver结构体中,填充和device匹配的名称
struct spi_driver {const struct spi_device_id *id_table;int                     (*probe)(struct spi_device *spi);int                     (*remove)(struct spi_device *spi);void                    (*shutdown)(struct spi_device *spi);struct device_driver    driver;
};
流程2:                     
spi_register_driver(spi_driver) -> __spi_register_driver(spi_driver) -> driver_register(device_driver) ->  bus_add_driver(device_driver) -> driver_attach(device_driver) -> __driver_attach(在driver注册的总线bus_type上找设备(spi_device))  -> really_probe -> probe(回调到spi_driver)
设备树解析
 设备树中的设备(device)是用来描述硬件资源的存在
 被内核解析,生成一个 struct device_node;
 再由 platform 总线(或其他总线)创建 platform_device/ spi_device等对象;
 匹配上驱动的 platform_driver 后调用驱动中的 probe() 函数;
4. 定义一个XXX_device
1) spi_driver 中的probe函数执行
 2) 创建cdev设备,这个是给用户层的接口,供用户进行系统调用
 3) 创建类class_create
 4) 根据定义的XXX_device创建设备
流程3: 
probe(回调到spi_driver) -> cdev_add (创建cdev设备,设备中包含ops调用接口) -> class_create(创建类) -> device_create(创建 /dev 节点,并连接到类 以及cdev设备接口)
struct xxx_dev
{dev_t devid;                                                    /* 设备号 */                                 struct cdev cdev;                                               /* cdev */struct class *class;                                    /* 类 */struct device *device;                                  /* 设备 */struct device_node *nd;                                 /* 设备节点 */int major;                                                              /* 主设备号 */int pdwn_gpio;int cs_gpio;                                                    /* cs所使用的GPIO编号 */int reset_gpio;                                                 /* reset所使用的GPIO编号 */int drdy_gpio;                                                  /* drdy所使用的GPIO编号 */unsigned char channels[8];                              /* 采样通道,最多8个 */unsigned char channel_num;                              /* 采样通道数量 */int delay_us;                                                   /* 采样间隔时间 */void *private_data;                                             /* 私有数据 */
};匹配结构体流程如下:

升入剖析下结构体的定义:(ads1256 spi 设备)
平台驱动结构体
static struct spi_driver ads1256_driver = { .probe = ads1256_probe,.remove = ads1256_remove,.driver = { .owner = THIS_MODULE,.name = "ads1256",                                                                                   .of_match_table = ads1256_of_match,},  .id_table = ads1256_id,
};为什么是上面定义(总线设备驱动模型)
- spi_driver 承载着总线驱动的功能,当总线驱动注册时,找到匹配的总线设备后,需要执行我们的回调函数probe函数。
- 当卸载时,我们需要remove相应总线下的子设备。
- 其他的是需要与总线设备匹配的总线驱动名称。
平台设备结构体
struct spi_device {struct device           dev;struct spi_master       *master;u32                     max_speed_hz;u8                      chip_select;u8                      bits_per_word;u16                     mode;int                     irq;void                    *controller_state;void                    *controller_data;char                    modalias[SPI_NAME_SIZE];int                     cs_gpio;        /* chip select gpio *//* the statistics */struct spi_statistics   statistics;
};
- 平台设备也作为一个设备存在dev,也是作为一个设备注册。
- 平台设备作为主设备时的一些参数
- 其他就是spi设备的一些具体参数,中断号、模式 、速度等。
spi平台设备下具体设备
struct ads1256_dev
{dev_t devid;                                                    /* 设备号 */struct cdev cdev;                                               /* cdev */struct class *class;                                    /* 类 */struct device *device;                                  /* 设备 */struct device_node *nd;                                 /* 设备节点 */int major;                                                              /* 主设备号 */int pdwn_gpio;int cs_gpio;                                                    /* cs所使用的GPIO编号 */int reset_gpio;                                                 /* reset所使用的GPIO编号 */int drdy_gpio;                                                  /* drdy所使用的GPIO编号 */unsigned char channels[8];                              /* 采样通道,最多8个 */unsigned char channel_num;                              /* 采样通道数量 */int delay_us;                                                   /* 采样间隔时间 */void *private_data;                                             /* 私有数据 */
};- 作为一个设备注册device
- 所属类class
- 字符设备cdev
- 以及具体设备的一些数据参数
