java—13 RocketMQ
一、原理
RocketMQ架构上主要分为四部分,分别为Producer、Consumer、NameServer和 BrokerServer。如下图所示:

1. NameServer
NameServer是一个非常简单的Topic路由注册中心,其角色类似Dubbo中的zookeeper, 支持Broker的动态注册与发现。 主要包括两个功能:
- ① Broker管理 NameServer接受Broker集群的注册信息并且保存下来作为路由信息的基本数据。然后 提供心跳检测机制,检查Broker是否还存活;
- ② 路由信息管理 每个NameServer将保存关于Broker集群的整个路由信息和用于客户端查询的队列信息。 然后Producer和Conumser通过NameServer就可以知道整个Broker集群的路由信息,从而进 行消息的投递和消费。
NameServer通常也采用集群的方式部署,各实例间相互不进行信息通讯。Broker是向每 一台NameServer注册自己的路由信息,所以每一个NameServer实例上面都保存一份完 整的路由信息。当某个NameServer因某种原因下线了,Broker仍然可以向其它 NameServer同步其路由信息,Producer和Consumer仍然可以动态感知Broker的路由的信 息。
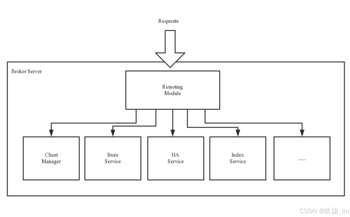
2. BrokerServer
Broker主要负责消息的存储、投递和查询以及服务高可用保证,为了实现这些功能。 Broker包含了以下几个重要子模块:
- ① Remoting Module 负责处理来自Client端的请求。
- ② Client Manager 负责管理客户端(Producer/Consumer)和维护 Consumer的Topic订阅信息。
- ③ Store Service 提供方便简单的API接口处理消息存储到物理 硬盘和查询功能。
- ④ HA Service 高可用服务,提供Master Broker 和 Slave Broker之间的数据同步功能。
- ⑤ Index Service 根据特定的Message key对投递到Broker的 消息进行索引服务,以提供消息的快速查询。

3. Group、Topic、Tag之间的关系
一个班代表一个GroupID,每个班有N 个学生。  同学即是一个消费者(Consumer), 每个同学可以选择参加多个假期活动, 如:儿童公园,水上乐园(即消费者可 以订阅多个Topic)。  儿童公园、水上乐园代表不同Topic, 儿童公园有多个游乐项目(即:Topic 有N个Tag标签)

4. 消息存储
RocketMQ消息的存储是由ConsumeQueue和CommitLog配合完成的,消息真正的物理存储文件是 CommitLog,ConsumeQueue是消息的逻辑队列,类似数据库的索引文件,存储的是指向物理存储的 地址。每个Topic下的每个MessageQueue都有一个对应的ConsumeQueue文件。

5. 消息刷盘
同步刷盘:只有在消息真正持久化至磁盘后 RocketMQ的Broker端才会真正返回给 Producer端一个成功的ACK响应。同步 刷盘对MQ消息可靠性来说是一种不错的 保障,但是性能上会有较大影响,一般 适用于金融业务应用该模式较多。
异步刷盘:能够充分利用OS的PageCache的优势, 只要消息写入PageCache即可将成功的 ACK返回给Producer端。消息刷盘采用 后台异步线程提交的方式进行,降低了 读写延迟,提高了MQ的性能和吞吐量。

6. 高可用性-主从集群
通过搭建RocketMQ集群,采用多Master搭配多Slave的方式,实现整个RocketMQ集群的高可用性的。
- ① Master节点:在broker.conf配置文件中,如果brokerId等于0,则表明这个Broker是Master。 其中,通过brokerRole,也标识这个Broker是Master还是Slave。 Master Broker支持读和写。
- ② Slave节点:如果brokerId大于0,则表明这个Broker是Slave。 Slave Broker仅支持读。
Producer端高可用:在创建Topic的时候,把Topic的多个MessageQueue创建在多个Broker组上(相同Broker名称,不同 brokerId的机器组成一个Broker组),这样当一个Broker组的Master不可用后,其他组的Master仍然可用, Producer仍然可以发送消息。 RocketMQ目前还不支持把Slave自动转成Master,如果机器资源不足,需要 把Slave转成Master,则要手动停止Slave角色的Broker,更改配置文件,用新的配置文件启动Broker。
Consumer端高可用:Consumer端默认会从Master Broker节点取读取消息,但是如果Master负载较高或者Master不可用了, 那么Consumer会自动的切换为去Slave Broker节点中读取数据。
7. 高可用性-主从复制
主从复制:在RocketMQ集群中,消息需要从Master复制到Slave上,可以通过在broker.conf里配置 brokerRole来确定复制方式。 其中,如果是主节点,则可以配置SYNC_MASTER(同步复制)或ASYNC_MASTER(异步 复制); 如果是从节点,则配置为:SLAVE。
那么下面我们来详细介绍一下这两种复制方式:
① 同步复制 同步复制方式是等Master和Slave都写成功之后才反馈给客户端写成功状态; 在同步复制方式下,如果Master出故障, Slave上有全部的备份数据,容易恢复,但是同 步复制会增大数据写入延迟,降低系统吞吐量。
② 异步复制 异步复制方式是只要Master写成功就可以反馈给客户端写成功状态。 在异步复制方式下,系统拥有较低的延迟和较高的吞吐量,但是如果Master出了故障,有 些数据因为没有被写 入Slave,有可能会丢失;
8. 消息重试
顺序消息重试:对于顺序消息,当消费者消费消息失败后,消息队列 RocketMQ会自动不断进行消息重试(每次间隔时间为1 秒),这时,应用会出现消息消费被阻塞的情况。因此, 在使用顺序消息时,务必保证应用能够及时监控并处理 消费失败的情况,避免阻塞现象的发生。
无序消息重试:对于无序消息(普通、定时、延时、事务消息),当 消费者消费消息失败时,您可以通过设置返回状态达到 消息重试的结果。无序消息的重试只针对集群消费方式 生效;广播方式不提供失败重试特性,即消费失败后, 失败消息不再重试,继续消费新的消息。 RocketMQ默认允许每条消息最多重试16次,如果消 息重试16次后仍然失败,消息将不再投递。需要注意的 是,一条消息无论重试多少次,这些重试消息的Message ID不会改变。每次重试的间隔时间如表格所示:

9. 死信队列
当一条消息第一次消费失败,RocketMQ会自动进行消息重试。但是如果达到最大重试次 数后,若消费依然失败,则表明消费者在正常情况下无法正确地消费该消息,此时, RocketMQ不会立刻将消息丢弃,而是将其发送到该消费者对应的死信消息(Dead-Letter Message)中。
死信消息具有以下特性: 不会再被消费者正常消费。 有效期与正常消息相同,均为3天,3天后会被自动删除。因此,请在死信消息产生后的 3天内及时处理。
死信队列具有以下特性: 一个死信队列对应一个Group ID,而不是对应单个消费者实例。 如果一个Group ID未产生死信消息,RocketMQ不会为其创建相应的死信队列。 一个死信队列包含了对应Group ID产生的所有死信消息,不论该消息属于哪个Topic。
