FileZilla“服务器发回了不可路由的地址,使用服务器地址代替
问题:在宝塔创建的FTP无法使用,提示“服务器回应不可路由的地址。使用服务器地址代替

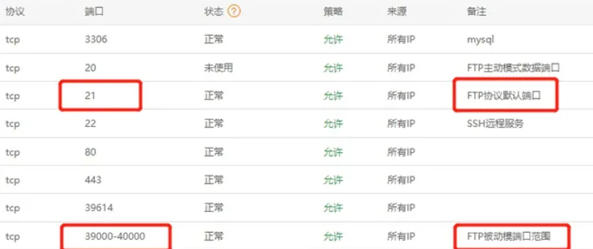
第一种解决办法:由于宝塔把FTP被动模式端口范围设置成了39000-40000,所以只需要把阿里云服务器上相应的端口范围开放即可。


第二种解决办法:更改Filezilla设置,编辑 -> 设置 -> 连接-FTP-被动模式,将「使用服务器的外部IP地址来代替」改为「回到主动模式」
进入宝塔(BT)面板,依次点击软件管理 -> pure-ftpd 1.0.49 -> 配置修改,搜索「ForcePassiveIP」,定位到下图位置:

去掉ForcePassiveIP前面的注释符号,并把后面的IP地址修改为服务器的外网IP地址,保存配置后重载配置或者重启服务生效。这样设置后FileZilla就不会在提示「服务器发回了不可路由的地址,使用服务器地址代替。」
